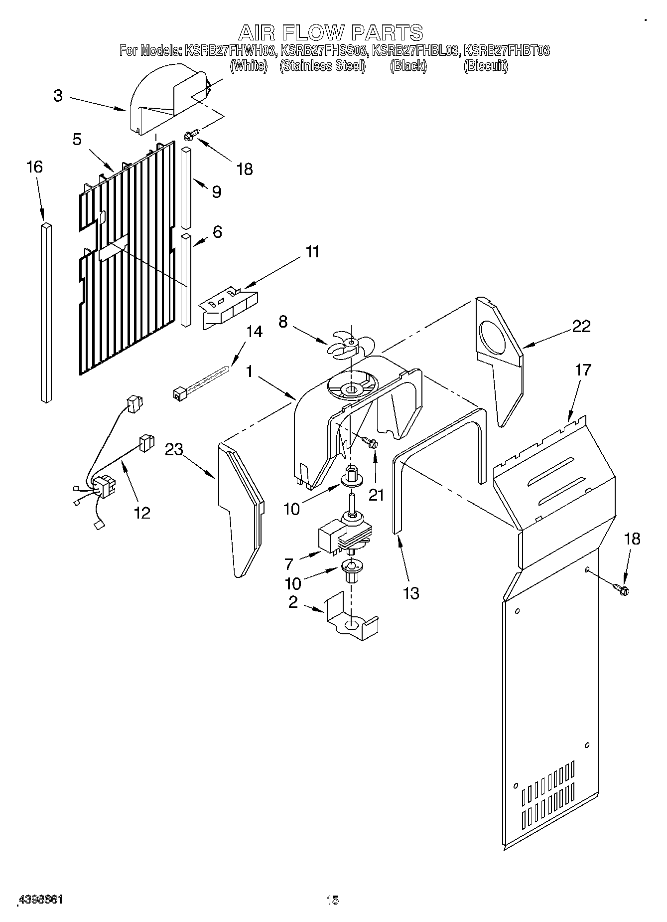
KSRB27FHBL03 09 – AIR FLOW