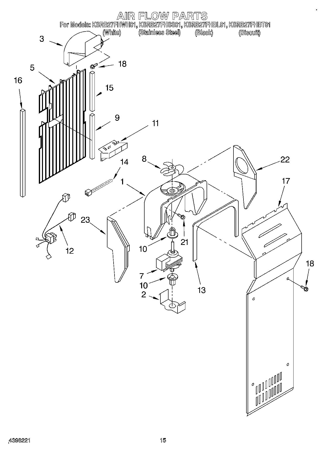
KSRB27FHWH01 09 – AIR FLOW