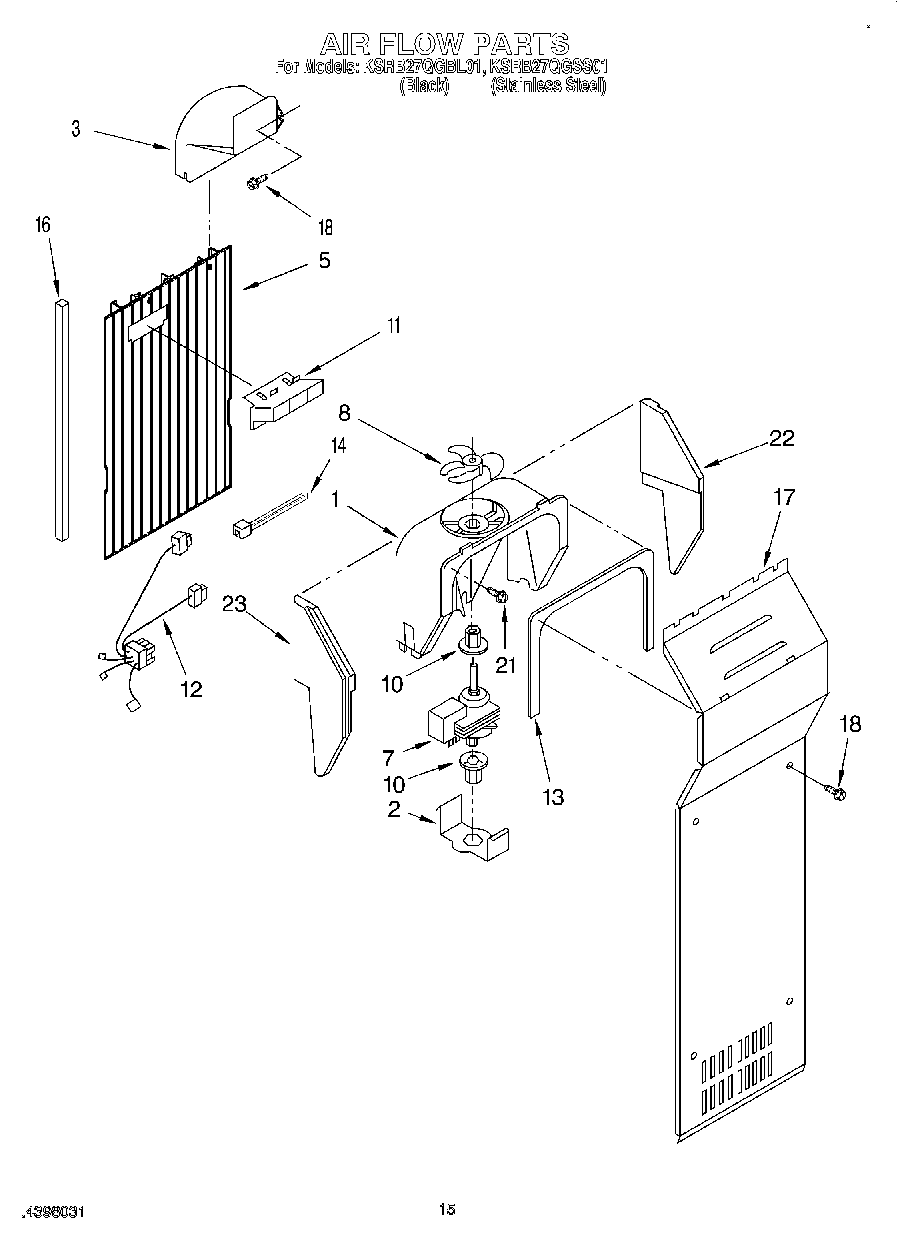
KSRB27QGSS01 09 – AIR FLOW