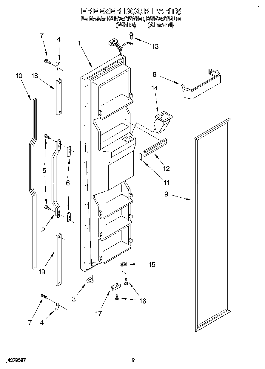
KSRC25DBAL00 07 – FREEZER DOOR