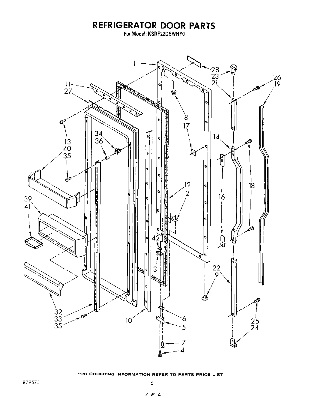
KSRF22DSWHY0 04 – REFRIGERATOR DOOR