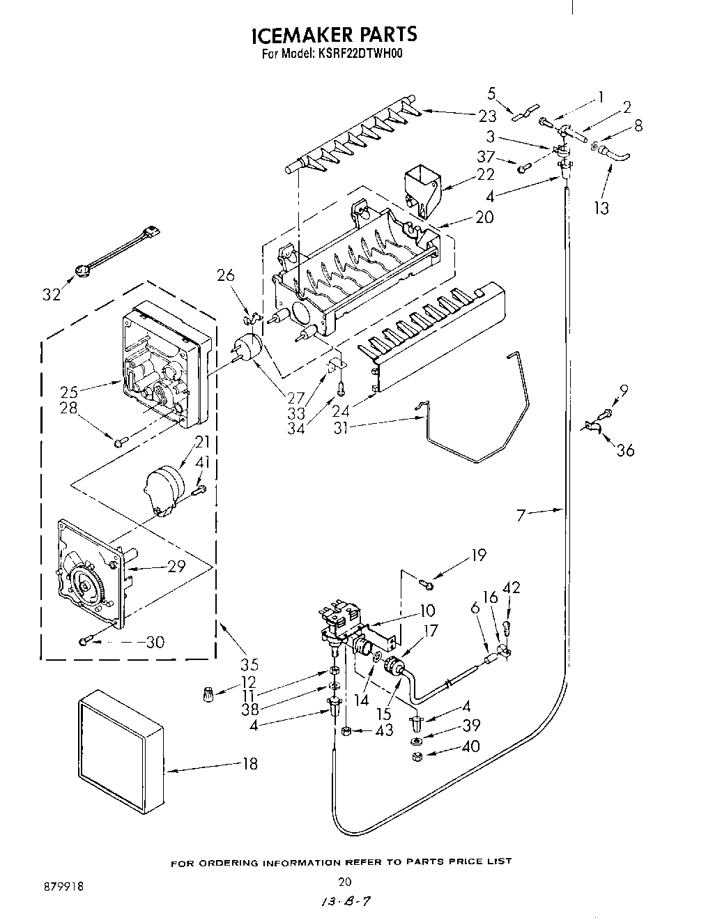
KSRF22DTAL00 11 – ICEMAKER