KSRF22DTWH00 07 – DISPENSER FRONTadmin2025-04-26T12:19:40+00:00KSRF22DTWH00 07 – DISPENSER FRONT
Products
| Position | Product |
|---|
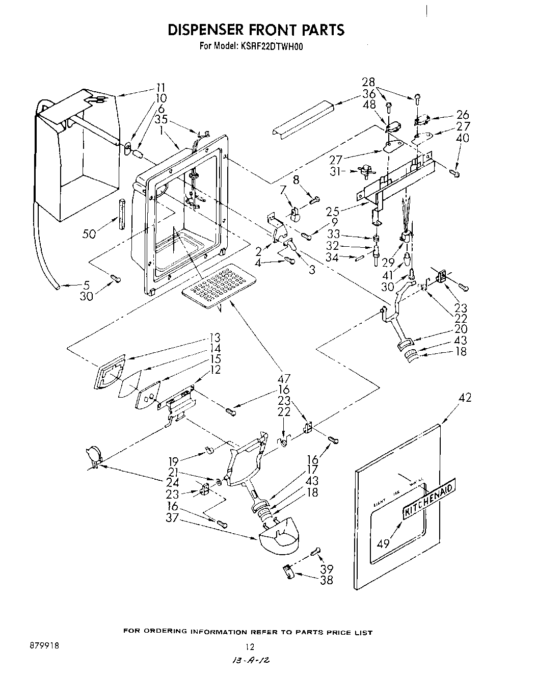
| 1 | Housing, Dispenser |
| 2 | Bracket, Water |
| 3 | WP4388152 Whirlpool Refrigerator Fitting |
| 4 | WP965173 Whirlpool Dishwasher Screw |
| 5 | W10823511 Whirlpool Refrigerator Water Tube |
| 6 | 4387491 Whirlpool Refrigerator Insert |
| 7 | WP488878 Whirlpool Refrigerator Tube Clamp |
| 8 | WP488787 Whirlpool Refrigerator Screw |
| 9 | Screw, 8-18 x 3/4 |
| 10 | Grommet |
| 11 | Heater, Dispenser |
| 12 | Door Mechanism Assembly |
| 13 | Gasket, Door |
| 14 | Shield, Ice Door |
| 15 | Door, Ice |
| 16 | WP3400906 Whirlpool Refrigerator Screw |
| 17 | Lever, Ice Dispenser |
| 18 | Pad, Lever |
| 19 | Clip, Bearing (2) |
| 20 | Lever, Water Dispenser |
| 21 | Washer |
| 22 | Spring, Lever (2) |
| 23 | Bearing, Lever (3) |
| 24 | WP1120581 Whirlpool Refrigerator Mechanism |
| 25 | Bracket, Control |
| 26 | Switch |
| 27 | Insulator, Switch (2) |
| 28 | Screw, 4-40 x 1 |
| 29 | Socket, Lamp |
| 30 | WP489128 Whirlpool Refrigerator Screw |
| 31 | Switch, Light |
| 32 | Plunger, Extension |
| 33 | Spring, Plunger |
| 34 | Pin, Retainer |
| 35 | Wiring Harness, Door |
| 36 | Shield, Wiring |
| 37 | Guide, Ice |
| 38 | Stop, Glass |
| 39 | Screw |
| 40 | W11693756 Whirlpool Screw Assembly |
| 41 | WP22002263 Whirlpool Dryer 10W Light Bulb |
| 42 | Front Cover, Housing |
| 43 | Saddle, Lever |
| 47 | Grille, Overflow |
| 48 | Switch (2) |
| 49 | Nameplate |
| 50 | Seal |