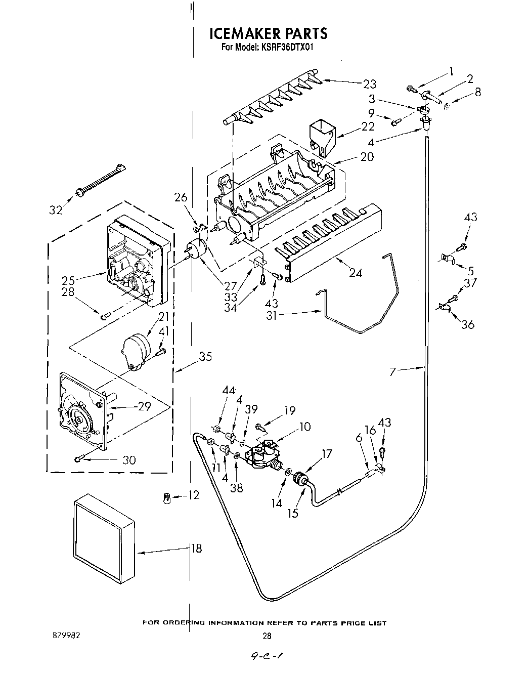
KSRF36DTX01 17 – ICE MAKER