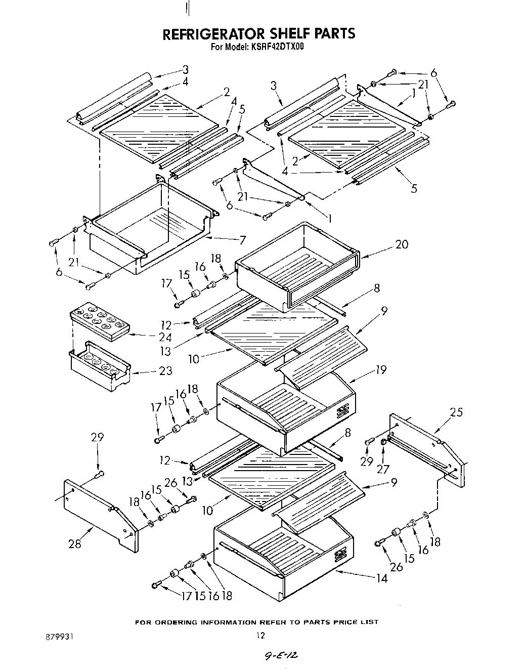
KSRF42DTX00 09 – REFRIGERATOR SHELF