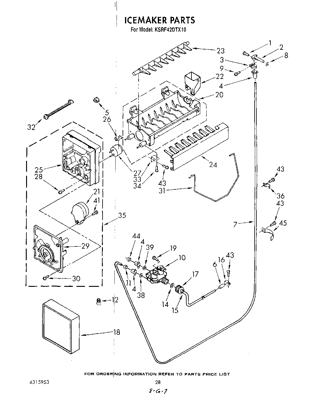
KSRF42DTX10 17 – ICE MAKERadmin2025-04-26T12:21:20+00:00KSRF42DTX10 17 – ICE MAKER ProductsPositionProduct2WP2196157 Whirlpool Fill Tube3WP488878 Whirlpool Refrigerator Tube Clamp44387491 Whirlpool Refrigerator Insert5WP628379 Whirlpool Refrigerator Clip6WP2158826 Whirlpool Refrigerator Dampener7W10823511 Whirlpool Refrigerator Water Tube8WP1106508 Whirlpool Refrigerator Gasket9WP489069 Whirlpool Compactor Screw10Valve, Solenoid11WP627018 Whirlpool Refrigerator Nut12Wire Connector14Washer15Tube, Inlet Valve16Clamp, Tube (2)17Nut, Valve18Cover19WP489128 Whirlpool Refrigerator Screw20WPW10190929 Whirlpool Refrigerator Ice Maker Mold22WP628356 Whirlpool Refrigerator Fill Cup23WP627843 Whirlpool Refrigerator Ejector Arm24WP2182124 Whirlpool Refrigerator Stripper Arm25WP2195914 Whirlpool Refrigerator Ice Maker Housing26WP2315522 Whirlpool Refrigerator Clip27WP627985 Whirlpool Icemaker Cycling Thermostat288533917 Whirlpool Refrigerator Screw30WP681249 Whirlpool Screw Assembly31W11342242 Whirlpool Refrigerator Ice Level Arm32Harness, Wiring33WP2256087 Whirlpool Refrigerator Bracket35W10190935 Whirlpool Refrigerator Icemaker Motor Module Assembly36Tube Clamp (4)38``O`` Ring Seal (4)39``O`` Ring Seal41489136 Whirlpool Refrigerator Screw43W11624204 Whirlpool Screw44Nut, Compression45488946 Whirlpool Air Conditioner Clamp