KSRG22FKBT04 12 – CONTROL, OPTIONAL

KSRG22FKBT04 12 – CONTROL, OPTIONAL

Products

PositionProduct
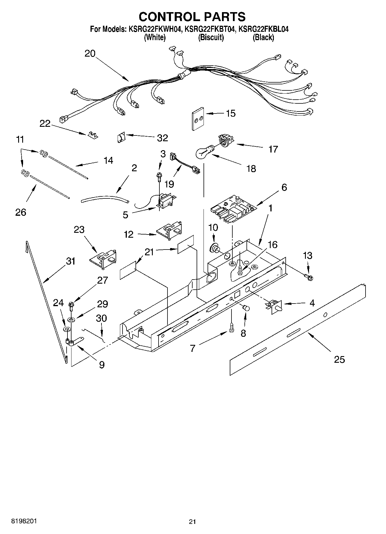
1Control Box
2WP2196003 Whirlpool Refrigerator Bar Riser
32006254 Whirlpool Refrigerator Screw
4WP2149705 Whirlpool Refrigerator Door Switch
5WP2315562 Whirlpool Refrigerator Thermostat
6WPW10366605-includeCORE Whirlpool WPW10366605 Refrigerator Electronic Control Board + Core
7489392 Whirlpool Refrigerator Screw
8COVER, LIGHT LENS
92161306 Whirlpool Refrigerator Arm Pivot
10940014 Whirlpool Refrigerator Primary Button Plug
11Grommet, Light Fiber
122161466 Whirlpool Refrigerator Slide
14Fiber Optic
152172931 Whirlpool Refrigerator Shield
16WP488488 Whirlpool Refrigerator Screw
174387478 Whirlpool Refrigerator Light Socket
18RANGE ONLY 40W 120V APPL BULB
19W10853646 Whirlpool Indicator Light
202311632 Whirlpool Refrigerator Wire Harness
21Window
22CLIP, WIRING
232181741 Whirlpool Refrigerator Slide
24Fastener, Push-On
25Escutcheon, Control Box
26Light Bar (FC)
27627068 Whirlpool Refrigerator Screw
29489203 Whirlpool Refrigerator Washer
302161307 Whirlpool Refrigerator Rod
312161308 Whirlpool Refrigerator Rod
32WP1115374 Whirlpool Refrigerator Clip
324392901 Whirlpool Biscuit Spray Paint
324392899 Whirlpool Biscuit Touch-Up Paint
32350942 Whirlpool Spray Paint
32212643 Whirlpool Refrigerator Permagum Sealer
32Almond (Uncut)
32350930 Whirlpool White Spray Paint
32WP72107 Whirlpool Touchup
32799344 Whirlpool Refrigerator Paint
3272017 Whirlpool Appliance Touch-Up Paint White
32350956 Whirlpool Spray Assembly
32Ice Crusher Mechanism Assembly
32511873 Whirlpool Refrigerator Paint
32606755 Whirlpool Refrigerator Bag
32833938 Whirlpool Refrigerator Terminal
32WPL 876029
32WPL 799833
32285006 Whirlpool Spray
3272032 Whirlpool Touch Up Paint Black
32Enamel, Black (1 Qt. Uncut)
32CEMENT, ALUMILASTIC (1 1/4 OZ.)
32PAINT, BULK (1 QT.) (BISCUIT (UNCUT))
32Torx Key
32TAPE, VINYL (3/4 X 108``)
32WP542638 Whirlpool Refrigerator Grease
32WP505587 Whirlpool Refrigerator Sealer
32WP503695 Whirlpool Refrigerator Sealer
32876370 Whirlpool Refrigerator Insulation
32WPW10312301 Whirlpool Refrigerator Ice Container