KSRG27FKWH01 04 – FREEZER LINERadmin2025-04-26T11:54:13+00:00KSRG27FKWH01 04 – FREEZER LINER
Products
| Position | Product |
|---|
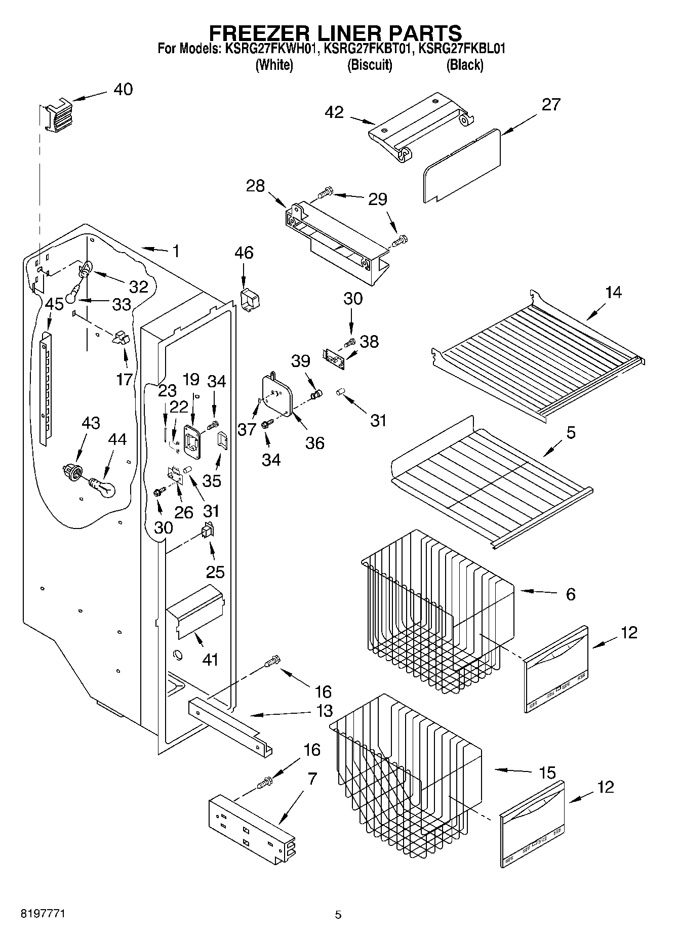
| 1 | Liner (Not A Serviceable Part) |
| 5 | Shelf, Slide Out Upper |
| 6 | Basket, Tall |
| 7 | Track, Basket-Dual (Left) |
| 7 | Track, Basket-Dual (Right) |
| 12 | 2305580K Whirlpool Refrigerator Basket Trim |
| 13 | Slide, Basket (Right Side (2)) |
| 13 | Slide, Basket (Left Side (2)) |
| 14 | Shelf |
| 15 | Basket, Slope |
| 16 | W10759522 Whirlpool Screw |
| 17 | 2215823 Whirlpool Refrigerator Clip |
| 19 | WP2198587 Whirlpool Refrigerator Cover |
| 22 | WP2198635 Whirlpool Refrigerator Spring |
| 23 | WP2198634 Whirlpool Door Pin |
| 25 | W11457217 Whirlpool Refrigerator Rocker Switch Combination |
| 26 | W10757851-includeCORE Whirlpool Electronic Control+Core |
| 27 | WP2255720 Whirlpool Refrigerator Ice Maker Door |
| 28 | Slide, Ice Maker |
| 29 | WP489478 Whirlpool Refrigerator Screw |
| 30 | 2006254 Whirlpool Refrigerator Screw |
| 31 | Tube, P.C. Board |
| 32 | 4387478 Whirlpool Refrigerator Light Socket |
| 34 | WPW10142283 Whirlpool Refrigerator Screw |
| 35 | WP2198633 Whirlpool Refrigerator Flipper |
| 36 | Cover, Receiver |
| 37 | 2315398 Whirlpool Refrigerator Slide |
| 38 | W11629974-includeCORE Whirlpool W11629974 Refrigerator Electronic Control Board |
| 39 | WP2198643 Whirlpool Refrigerator Lens |
| 40 | Light Shield |
| 41 | Light Lens |
| 42 | WP2198641 Whirlpool Refrigerator Ice Maker Cover Bracket |
| 43 | SOCKET |
| 44 | RANGE ONLY 40W 120V APPL BULB |
| 45 | Ladder (Right Side) |
| 45 | Ladder (Left Side) |
| 46 | Shield, Wiring |