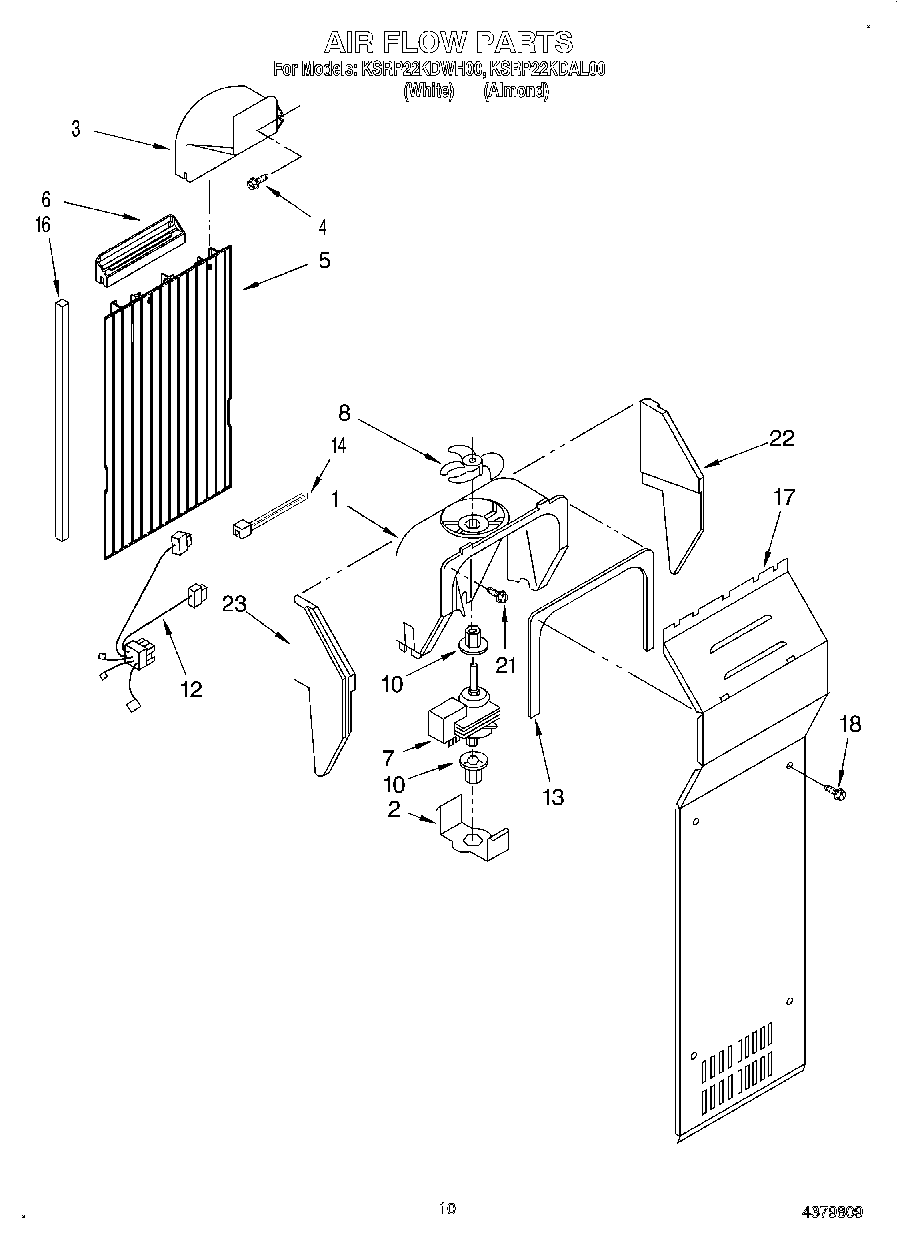
KSRP22KDAL00 07 – AIRFLOW