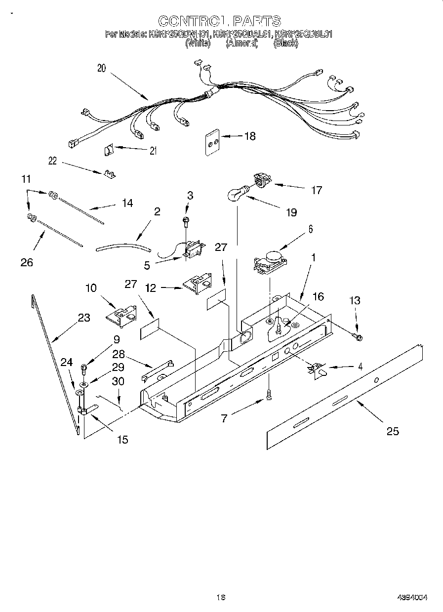
KSRP25QDAL01 10 – CONTROL