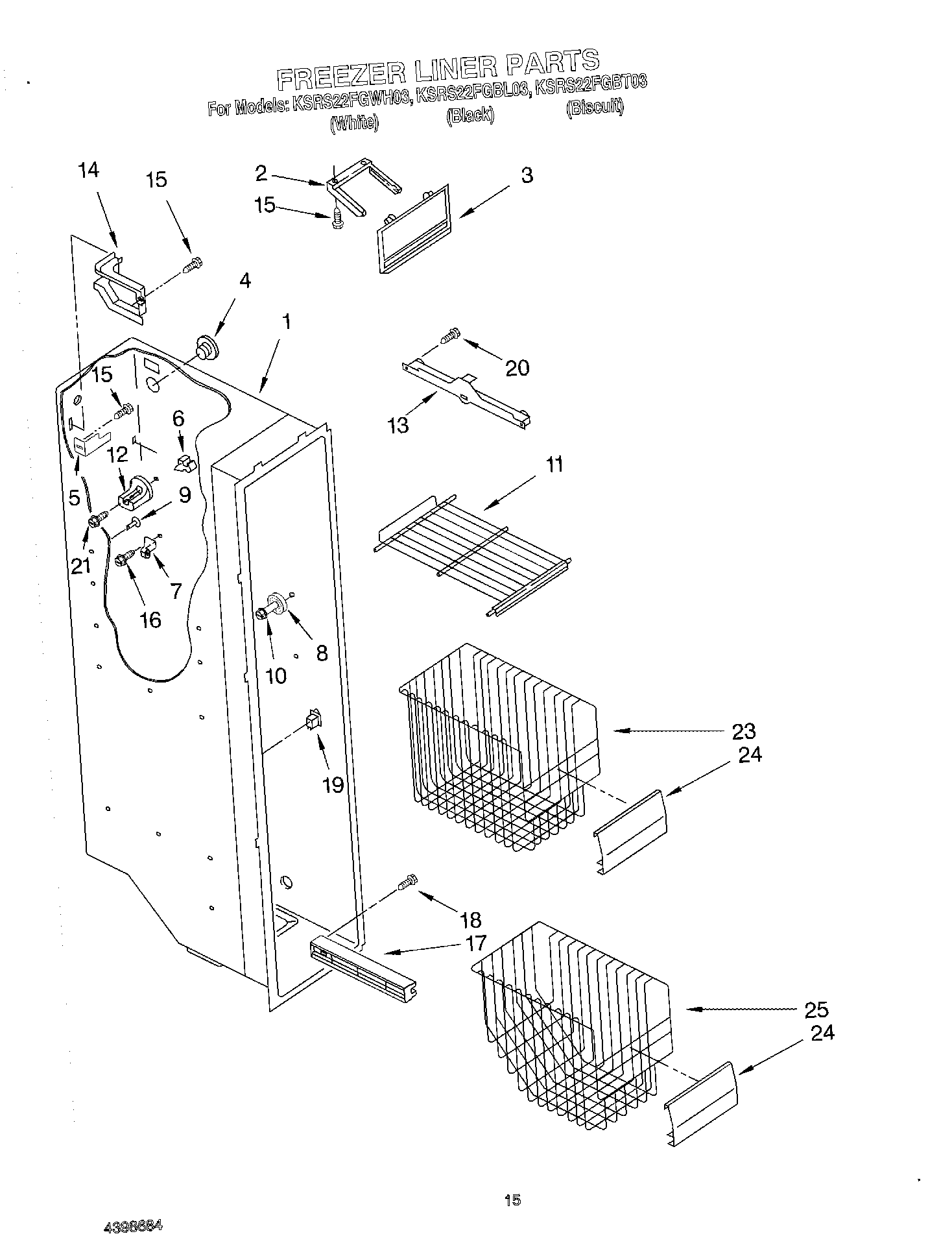
KSRS22FGBL03 09 – FREEZER LINERadmin2025-04-26T11:44:57+00:00KSRS22FGBL03 09 – FREEZER LINER ProductsPositionProduct1Liner (Not A Serviceable Part)2Slide, Ice Door32171712 Whirlpool Refrigerator Ice Door4940014 Whirlpool Refrigerator Primary Button Plug5Bracket, Fill Tube62215823 Whirlpool Refrigerator Clip74388405 Whirlpool Refrigerator Shelf Stud8WP2196483 Whirlpool Refrigerator Shelf Stud9Grommet10WP3400806 Whirlpool Screw11WP2174249K Whirlpool Refrigerator Wire Shelf12Stud, Rear13W10845585 Whirlpool Refrigerator Track13W10845583 Whirlpool Refrigerator Track14Cover, Wiring15SCREW17Slide, Basket (Right Side (2))17Slide, Basket (Left Side (2))18W10759522 Whirlpool Screw19W11457217 Whirlpool Refrigerator Rocker Switch Combination20718257 Whirlpool Dishwasher Screw21W10142289 Whirlpool Air Conditioner Screw23Basket, Tall24Basket, Front25Freezer Bin