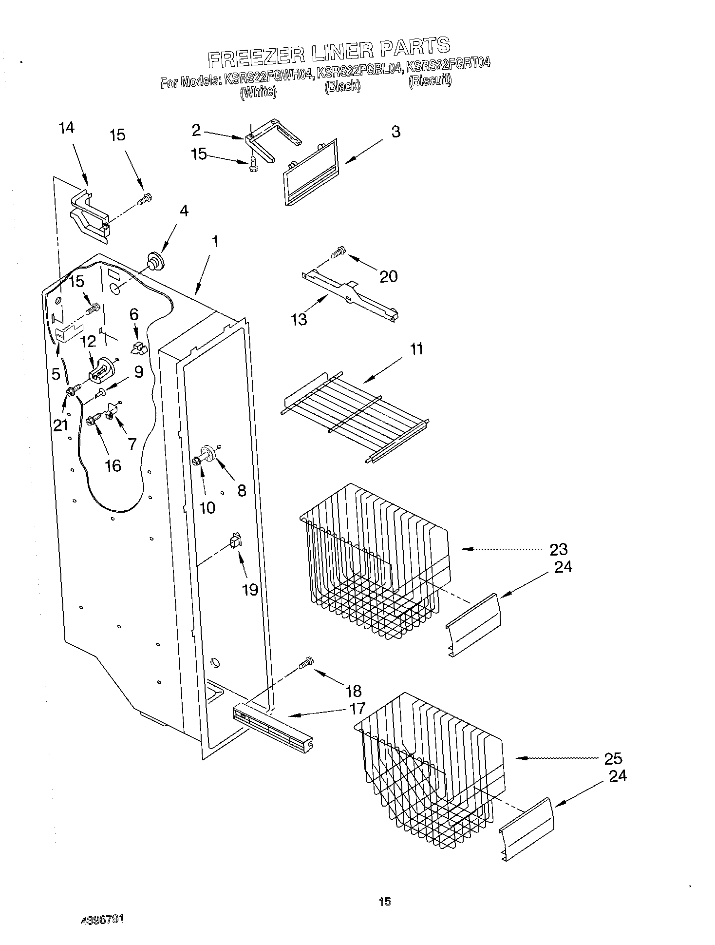
KSRS22FGBL04 09 – FREEZER LINER