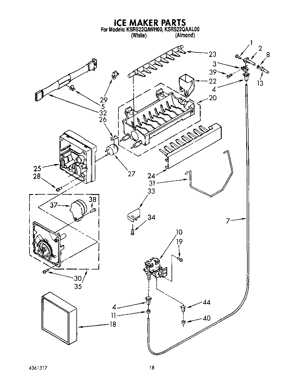
KSRS22QAWH00 12 – ICEMAKERadmin2025-04-26T11:45:50+00:00KSRS22QAWH00 12 – ICEMAKER ProductsPositionProduct2WP2196157 Whirlpool Fill Tube3WP488878 Whirlpool Refrigerator Tube Clamp44387491 Whirlpool Refrigerator Insert5WP628379 Whirlpool Refrigerator Clip7W10823511 Whirlpool Refrigerator Water Tube8WP1106508 Whirlpool Refrigerator Gasket10W10853654 Whirlpool Water Inlet Valve11WP627018 Whirlpool Refrigerator Nut13Tube, Water Inlet18Cover19WPW10141625 Whirlpool Refrigerator Screw Assembly20WPW10190929 Whirlpool Refrigerator Ice Maker Mold20WP542638 Whirlpool Refrigerator Grease22WP628356 Whirlpool Refrigerator Fill Cup23WP627843 Whirlpool Refrigerator Ejector Arm24WP2182124 Whirlpool Refrigerator Stripper Arm25WP2195914 Whirlpool Refrigerator Ice Maker Housing26WP2315522 Whirlpool Refrigerator Clip27WP627985 Whirlpool Icemaker Cycling Thermostat27Cement Alumilastic)288533917 Whirlpool Refrigerator Screw29Clip, Support (2)30WP681249 Whirlpool Screw Assembly31W11342242 Whirlpool Refrigerator Ice Level Arm32WP2187464 Whirlpool Refrigerator Wire Harness33W11500948 Whirlpool Refrigerator Bracket34Screw, 8-32 x 27/6437W10190935 Whirlpool Refrigerator Icemaker Motor Module Assembly38489136 Whirlpool Refrigerator Screw39WP488787 Whirlpool Refrigerator Screw40Nut, Compression44Insert, Tube1004317943 Whirlpool Refrigerator Ice Maker Assembly