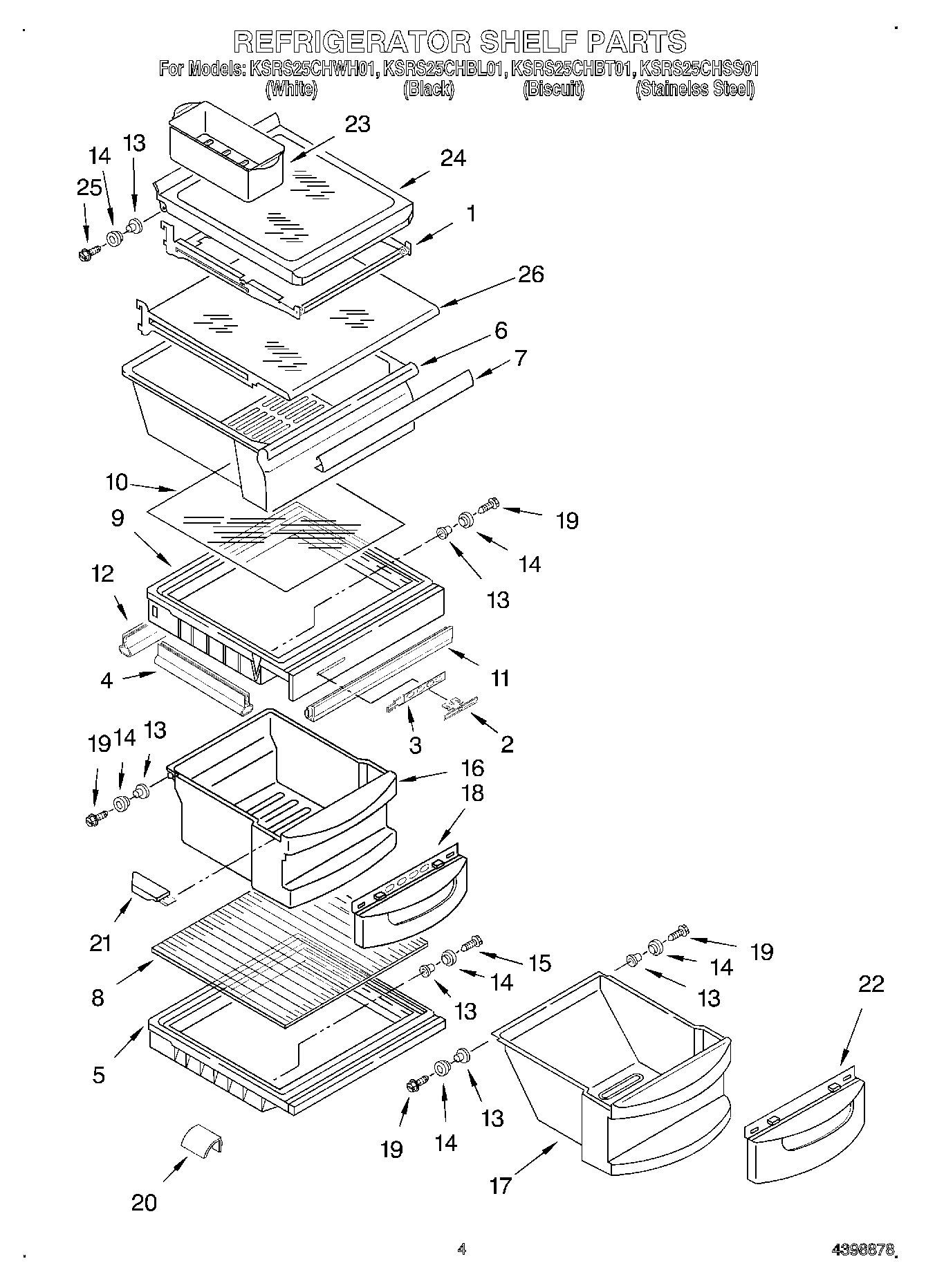
KSRS25CHSS01 03 – REFRIGERATOR SHELF