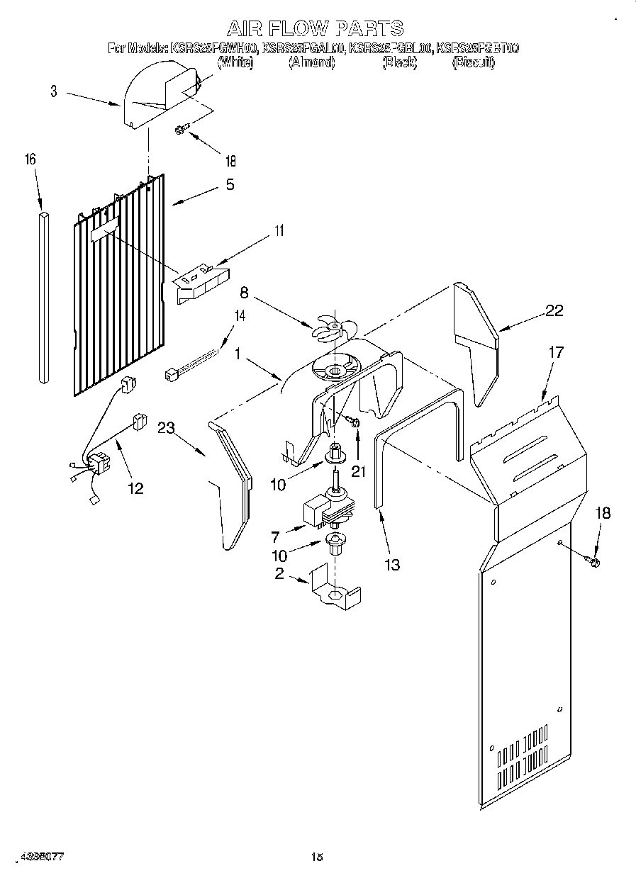
KSRS25FGAL00 09 – AIR FLOW