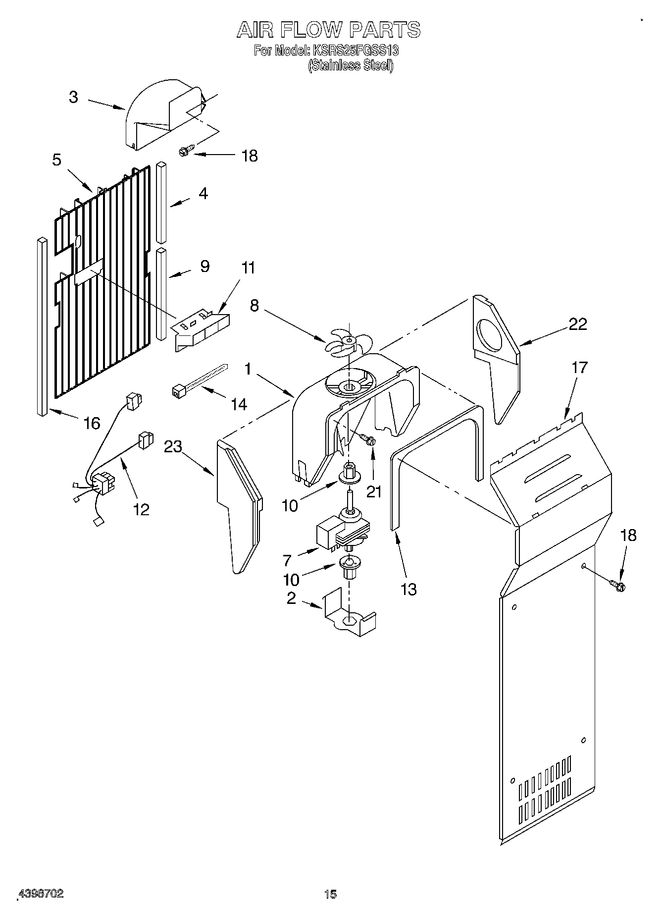
KSRS25FGSS13 09 – AIR FLOW