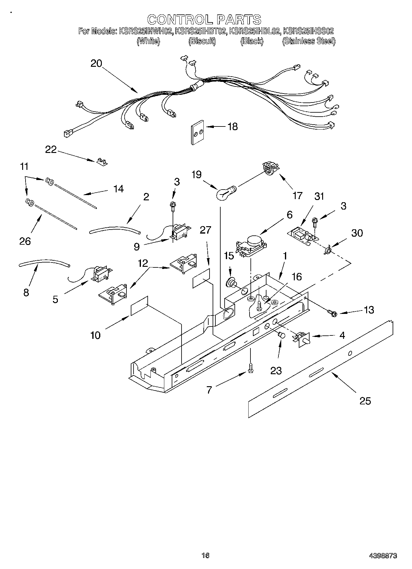
KSRS25IHBT02 10 – CONTROL