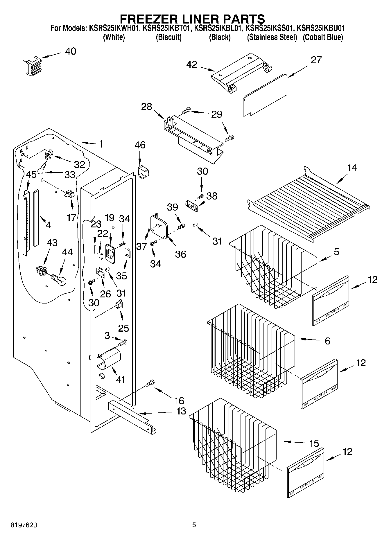
KSRS25IKBT01 04 – FREEZER LINERadmin2025-04-26T11:50:17+00:00KSRS25IKBT01 04 – FREEZER LINER ProductsPositionProduct1Liner (Not A Seviceable Part)3W10142289 Whirlpool Air Conditioner Screw4Gasket5Tube, Discharge6Basket, Tall12WP2205826K Whirlpool Refrigerator Front Basket13Slide, Basket (Left Side (2))13Slide, Basket (Right Side (2))14Shelf15Basket, Sloped16W10759522 Whirlpool Screw172215823 Whirlpool Refrigerator Clip19WP2198587 Whirlpool Refrigerator Cover22WP2198635 Whirlpool Refrigerator Spring23WP2198634 Whirlpool Door Pin25W11457217 Whirlpool Refrigerator Rocker Switch Combination26W10757851-includeCORE Whirlpool Electronic Control+Core27WP2255720 Whirlpool Refrigerator Ice Maker Door28Slide, Ice Maker29WP489478 Whirlpool Refrigerator Screw302006254 Whirlpool Refrigerator Screw31Tube, P.C. Board324387478 Whirlpool Refrigerator Light Socket34WPW10142283 Whirlpool Refrigerator Screw35WP2198633 Whirlpool Refrigerator Flipper36Cover, Receiver372315398 Whirlpool Refrigerator Slide38W11629974-includeCORE Whirlpool W11629974 Refrigerator Electronic Control Board39WP2198643 Whirlpool Refrigerator Lens40Light Shield41Light Lens42WP2198641 Whirlpool Refrigerator Ice Maker Cover Bracket43SOCKET44RANGE ONLY 40W 120V APPL BULB45Ladder (Left Side)45Ladder (Right Side)46Shield, Wiring