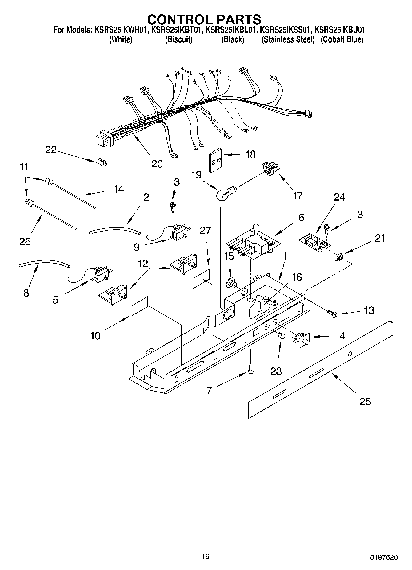
KSRS25IKBT01 10 – CONTROLadmin2025-04-26T11:51:16+00:00KSRS25IKBT01 10 – CONTROL ProductsPositionProduct12200135 Whirlpool Refrigerator Control Box2WP2196003 Whirlpool Refrigerator Bar Riser32006254 Whirlpool Refrigerator Screw4WP2149705 Whirlpool Refrigerator Door Switch5WP2182770 Whirlpool Refrigerator Thermostat64388932 Whirlpool Refrigerator Adaptive Defrost Timer Kit7489392 Whirlpool Refrigerator Screw9WP2161460 Whirlpool Refrigerator Thermostat102172940 Whirlpool Window11Grommet, Light Fiber122161466 Whirlpool Refrigerator Slide14Fiber Optic15940014 Whirlpool Refrigerator Primary Button Plug16WP488488 Whirlpool Refrigerator Screw174387478 Whirlpool Refrigerator Light Socket182172931 Whirlpool Refrigerator Shield19RANGE ONLY 40W 120V APPL BULB20Harness, Control Box21Retainer, Light Lens22CLIP, WIRING23COVER, LIGHT LENS24P.C. Board Filter Indicator25Escutcheon, Control Box26Light Bar (FC)27Window