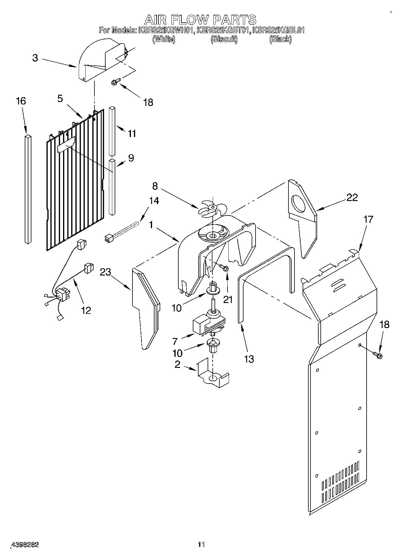
KSRS25KGBT01 07 – AIR FLOWadmin2025-04-26T11:52:26+00:00KSRS25KGBT01 07 – AIR FLOW ProductsPositionProduct1WP2182120 Whirlpool Refrigerator Scroll Fan2WP2155590 Whirlpool Refrigerator Retainer3Air Scoop5Air Duct Freezer74389144 Whirlpool Refrigerator Evaporator Fan Motor8WP2169142 Whirlpool Fan Blade9WP2209606 Whirlpool Gasket Assembly10WP2176759 Whirlpool Refrigerator Grommet11WP2209607 Whirlpool Gasket Assembly12Harness, Fan Evaporator, And Heater, Bi-Metal13WP2155789 Whirlpool Refrigerator Gasket14WPW10339879 Whirlpool Wire Tie164388500 Whirlpool Refrigerator Gasket17Cover, Evaporator18SCREW21WP489478 Whirlpool Refrigerator Screw234388358 Whirlpool Refrigerator Support Bracket