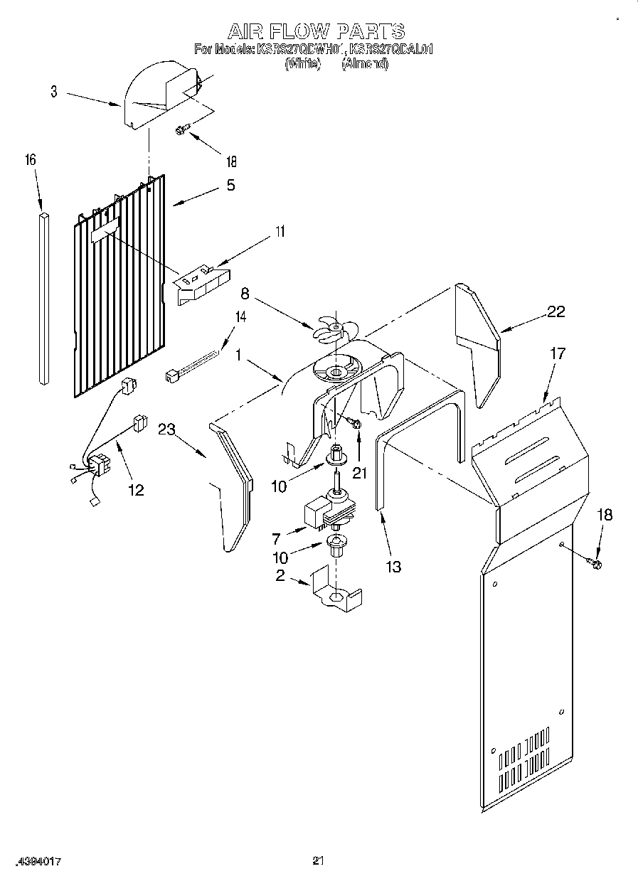
KSRS27QDWH01 12 – AIR FLOW, LIT/OPTIONAL

KSRS27QDWH01 12 – AIR FLOW, LIT/OPTIONAL