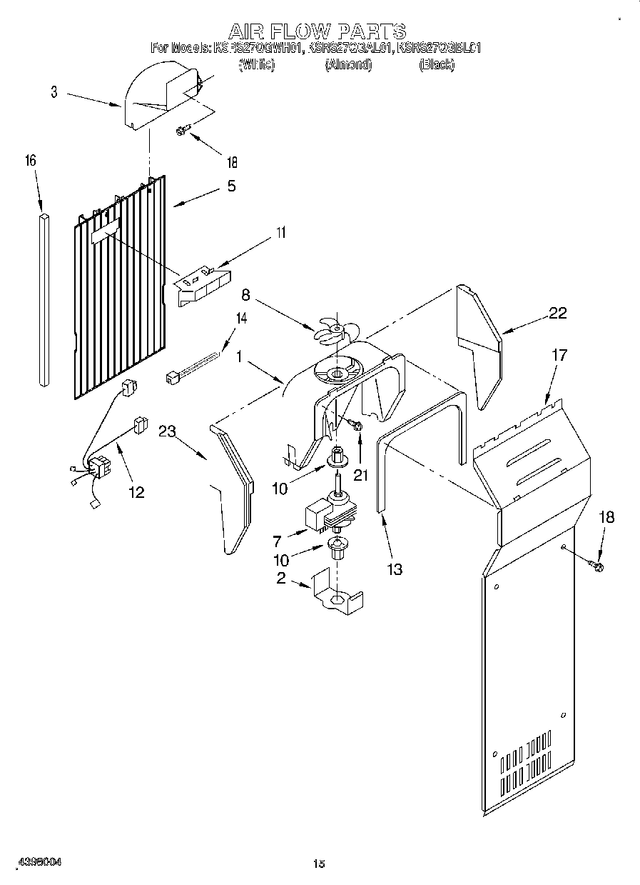
KSRS27QGBL01 09 – AIR FLOW