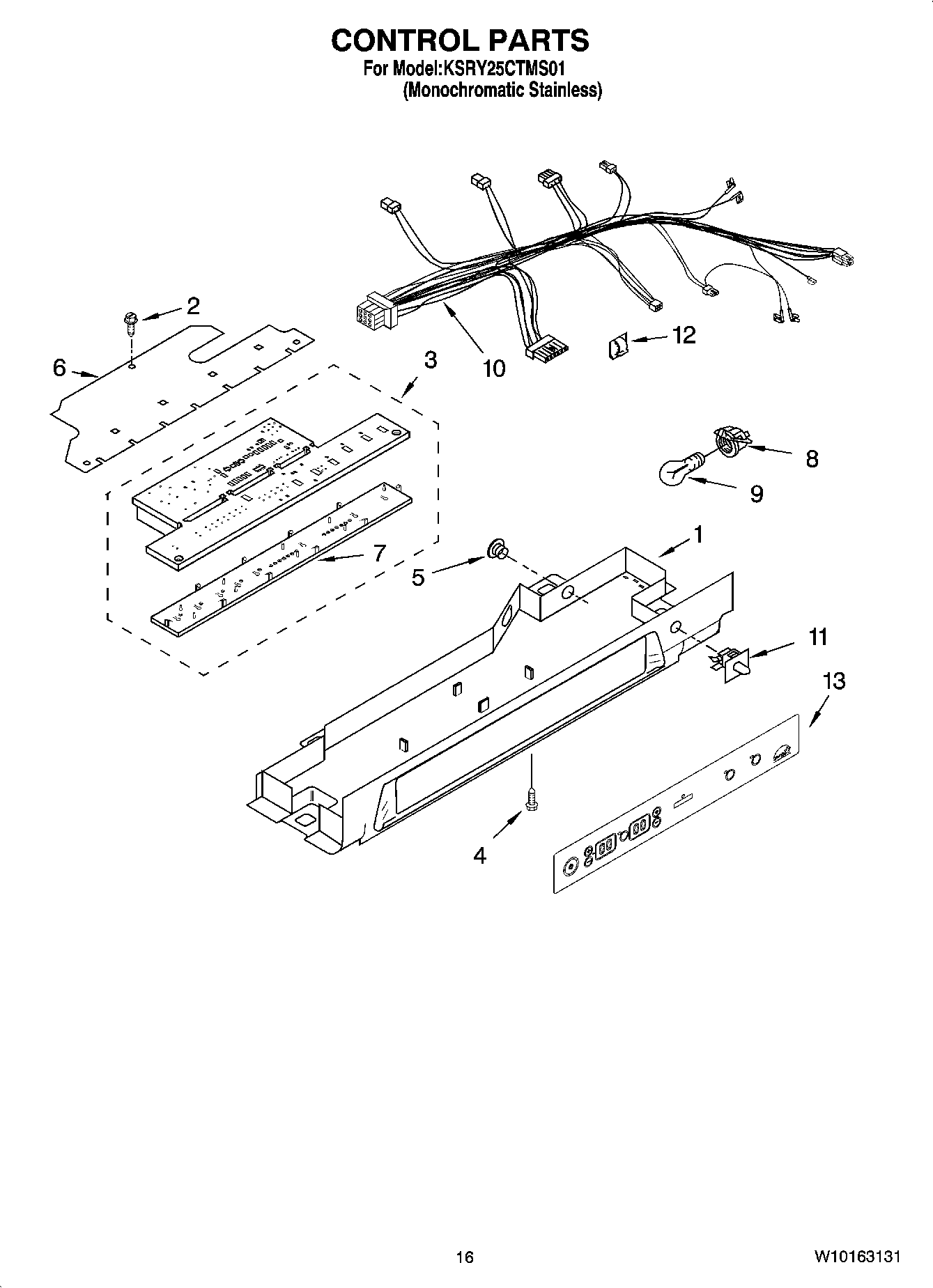
KSRY25CTMS01 10 – CONTROL PARTSadmin2025-04-26T12:07:43+00:00KSRY25CTMS01 10 – CONTROL PARTS ProductsPositionProduct1Control Box2WP3196557 Whirlpool Screw3Electronic Control4WP67006908 Whirlpool Refrigerator Screw5940014 Whirlpool Refrigerator Primary Button Plug6Cover, Ctrl Box7Insert, Control Board (Not Available, Order 3)84387478 Whirlpool Refrigerator Light Socket9RANGE ONLY 40W 120V APPL BULB10Control Box Harness11WP2149705 Whirlpool Refrigerator Door Switch12WP1115374 Whirlpool Refrigerator Clip13Overlay, Control Box