KSSC42FJS00 10 – REFRIGERATOR DOORadmin2025-04-26T12:07:47+00:00KSSC42FJS00 10 – REFRIGERATOR DOOR
Products
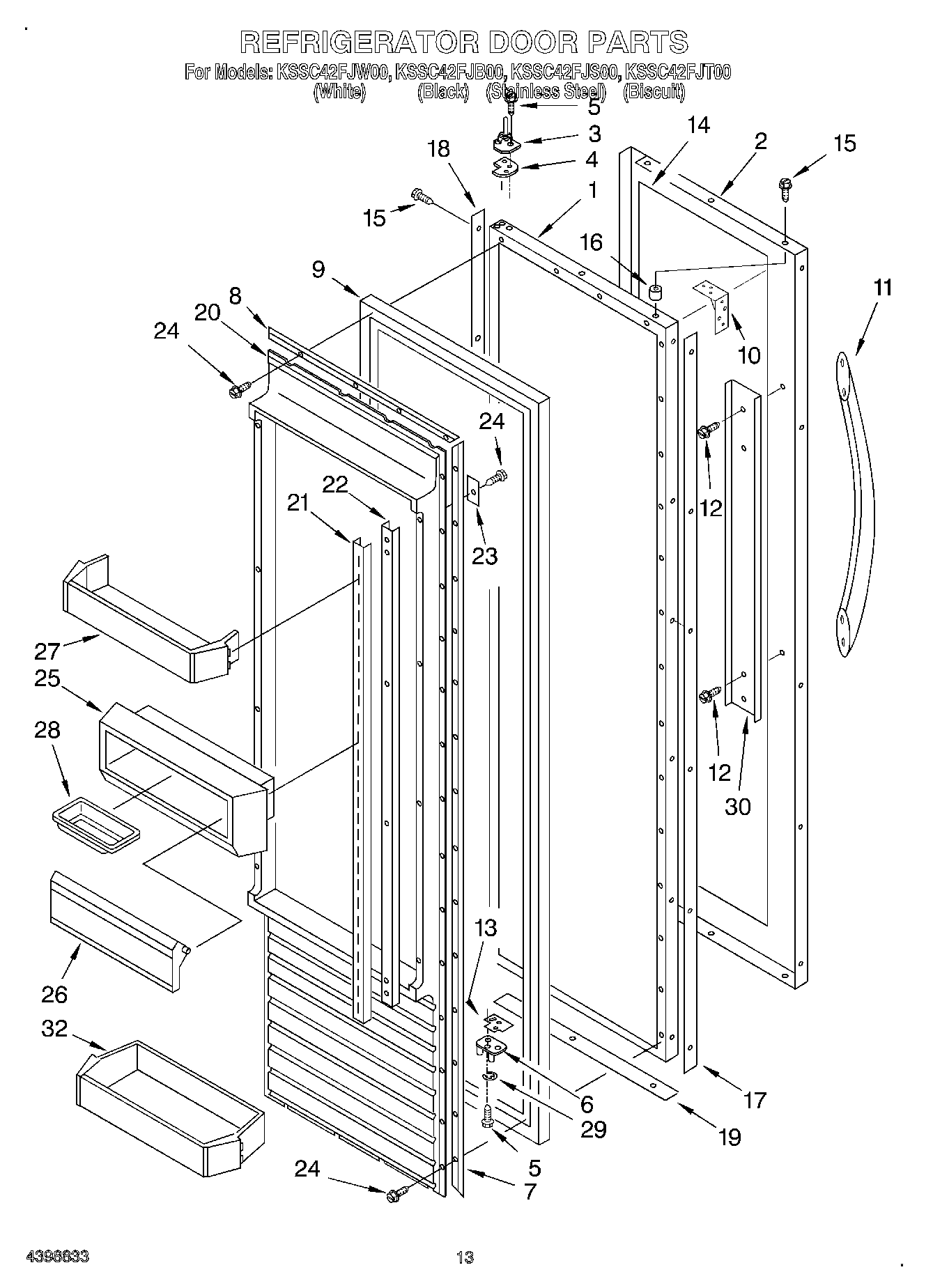
| Position | Product |
|---|
| 1 | Refrigerator Door Panel (Includes Insulation) |
| 2 | Door Skin (Black) |
| 2 | Door Skin (Stainless Steel) |
| 2 | Skin, Door (White) |
| 2 | Skin, Door (Biscuit) |
| 3 | Hinge, Top |
| 4 | Spacer-Hinge, Top |
| 5 | W11474472 Whirlpool Screw |
| 6 | WP2004523 Whirlpool Refrigerator Door Hinge |
| 7 | Gasket Retainer, Side (2) |
| 8 | Gasket Retainer, Top & Bottom |
| 9 | 2188320A Whirlpool Refrigerator Door Gasket |
| 10 | Door Brace, Corner |
| 11 | Handle, Door (White) |
| 11 | Handle, Door (Biscuit) |
| 11 | Handle, Door (Black) |
| 11 | Handle, Door (Stainless Steel) |
| 12 | WP308544 Whirlpool Screw |
| 13 | Door, Spacer |
| 14 | Filler, Door |
| 15 | Screw (White) |
| 15 | Screw (Biscuit) |
| 15 | WP488729 Whirlpool Refrigerator Door Screw |
| 15 | Screw |
| 16 | 2005433 Whirlpool Refrigerator Spacer |
| 17 | Spacer, Handle Side |
| 18 | Spacer, Hinge Side |
| 19 | Spacer, Door Bottom |
| 20 | Panel, Interior Door |
| 21 | Ladder, Shelf (2) |
| 22 | Retainer, Shelf Ladder (2) |
| 23 | Back Up Plate (8) |
| 24 | W11624204 Whirlpool Screw |
| 25 | Bin, Utility |
| 26 | Door, Utility Bin |
| 27 | Door Shelf (3) |
| 28 | Butter Tray |
| 29 | Retaining Ring, Door-Closure |
| 30 | Plate, Handle |
| 32 | Shelf, Gallon Door |