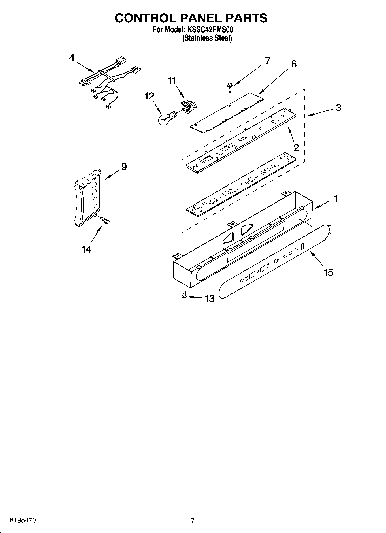
KSSC42FMS00 05 – CONTROL PANEL PARTS