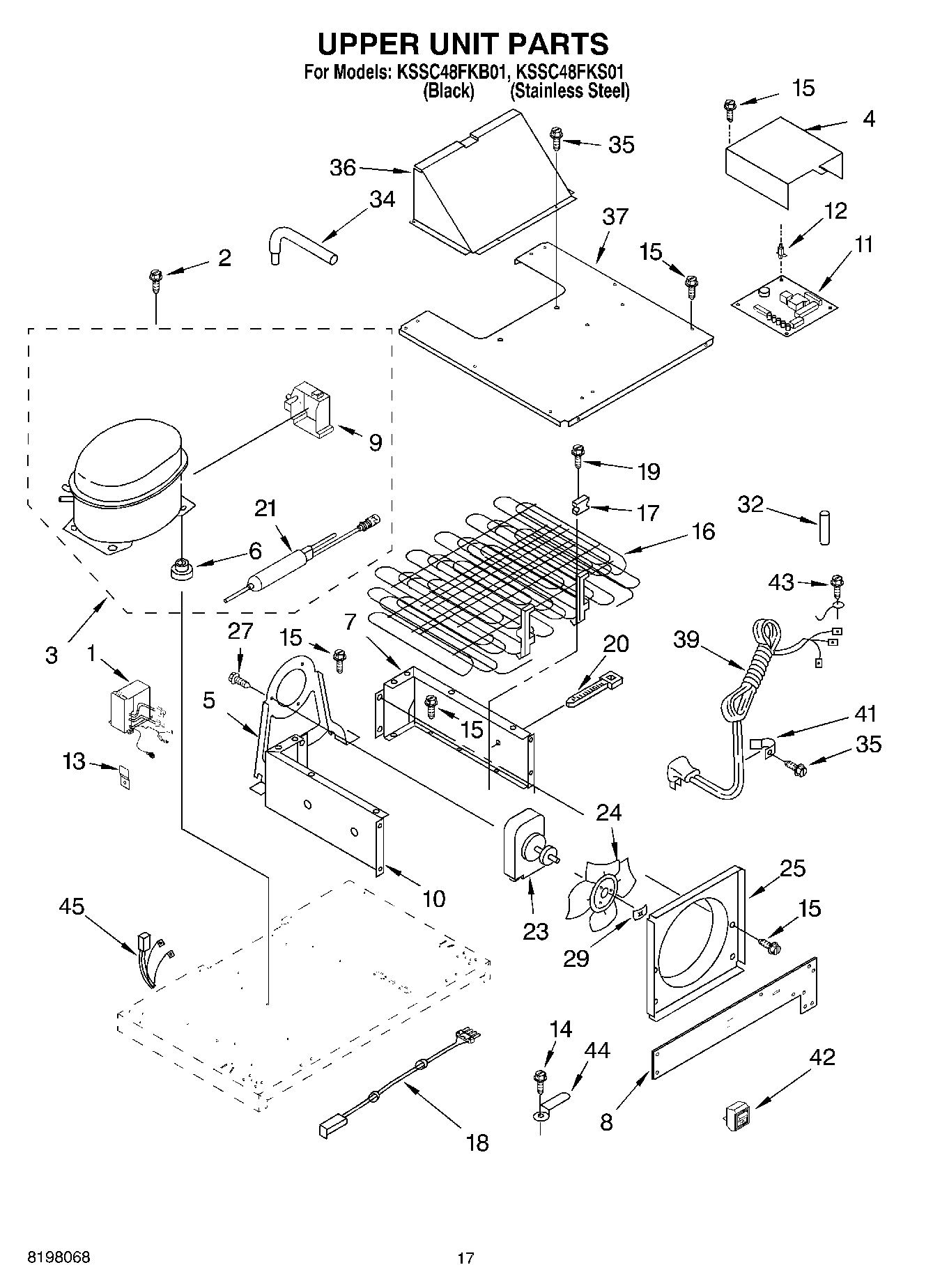
KSSC48FKB01 11 – UPPER UNIT