KSSP36MFT05 10 – REFRIGERATOR DOORadmin2025-04-26T12:32:45+00:00KSSP36MFT05 10 – REFRIGERATOR DOOR
Products
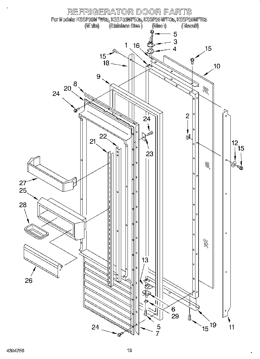
| Position | Product |
|---|
| 1 | Refrigerator Door Panel (Includes Insulation) |
| 2 | WP939101 Whirlpool Refrigerator Plate |
| 3 | Hinge, Top |
| 4 | Spacer-Hinge, Top |
| 5 | W11474472 Whirlpool Screw |
| 6 | WP2004523 Whirlpool Refrigerator Door Hinge |
| 7 | Gasket Retainer, Side (2) |
| 8 | Gasket Retainer, Top & Bottom |
| 9 | 2188319A Whirlpool Refrigerator Door Gasket |
| 10 | Panel, Decorative (White) |
| 10 | Panel, Decorative (Stainless Steel) |
| 10 | Panel, Decorative (Biscuit) |
| 10 | Panel, Decorative (Black) |
| 11 | Handle, Door (Stainless Steel) |
| 11 | Handle, Door (Biscuit) |
| 11 | Handle, Door |
| 11 | Handle, Door (White) |
| 12 | Washer |
| 13 | Door, Spacer |
| 15 | Screw (White) |
| 15 | WP488729 Whirlpool Refrigerator Door Screw |
| 16 | TRIM-DOOR, TOP (WHITE) |
| 16 | Trim, Door (Top) (Etched Aluminum) |
| 16 | Trim (Top) (Biscuit) |
| 16 | Trim (Top) |
| 18 | Trim, Side (Etched Aluminum) |
| 18 | Trim-Door, Side |
| 18 | Trim (Side) (Biscuit) |
| 18 | Trim (Side) (White) |
| 19 | Trim (Bottom) (Aluminum (Black Model)) |
| 19 | Trim (Bottom) (Biscuit) |
| 19 | Trim (Bottom) (White) |
| 19 | Trim (Bottom) |
| 20 | Panel, Interior Door |
| 21 | Ladder, Shelf (2) |
| 22 | Retainer, Shelf Ladder (2) |
| 23 | Back Up Plate (8) |
| 24 | W11624204 Whirlpool Screw |
| 25 | Bin, Utility |
| 26 | Door, Utility Bin |
| 27 | Door Shelf (4) |
| 28 | Butter Tray |
| 29 | Retaining Ring, Door-Closure |