KSSP48MFB05 11 – FREEZER DOORadmin2025-04-26T12:32:22+00:00KSSP48MFB05 11 – FREEZER DOOR
Products
| Position | Product |
|---|
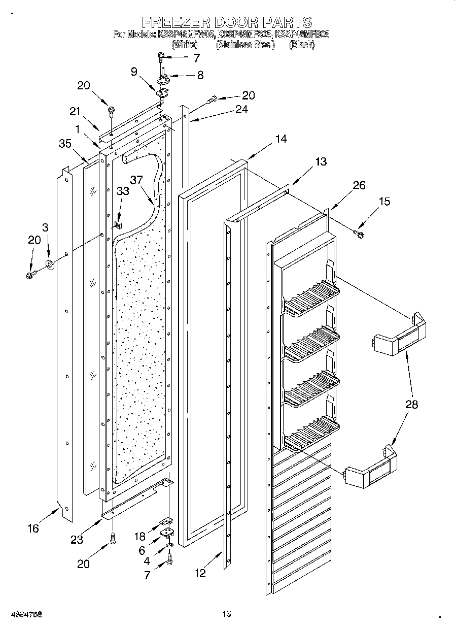
| 1 | Freezer Door Panel (Includes Insulation) |
| 3 | Washer |
| 4 | Retaining Ring, Door-Closure |
| 6 | Hinge, Bottom |
| 7 | W11474472 Whirlpool Screw |
| 8 | Hinge Assembly, Top |
| 9 | Spacer-Hinge, Top |
| 12 | Gasket Retainer, Side (2) |
| 13 | Gasket Retainer, Top & Bottom |
| 14 | 2188319A Whirlpool Refrigerator Door Gasket |
| 15 | W11624204 Whirlpool Screw |
| 16 | Handle, Door |
| 16 | Handle, Door (Stainless Steel) |
| 16 | Handle, Door (White) |
| 18 | Door, Spacer |
| 20 | Screw (White) |
| 20 | WP488729 Whirlpool Refrigerator Door Screw |
| 21 | Trim (Top) |
| 21 | Trim-Door, Top |
| 21 | Trim (Top) (White) |
| 23 | Trim (Bottom) (White) |
| 23 | Trim (Bottom) |
| 23 | Trim (Bottom) (Stainless Steel) |
| 24 | Trim (Side) (White) |
| 24 | Trim (Side) (Stainless Steel) |
| 24 | Trim (Side) |
| 26 | Panel, Interior Door |
| 28 | Shelf Bin (4) |
| 33 | WP939101 Whirlpool Refrigerator Plate |
| 35 | Panel, Decorative (Stainless Steel) |
| 35 | Panel, Decorative (White) |
| 35 | Panel, Decorative (Black) |
| 37 | Insulation, Encapsulated |