KSSS36MAX00 15 – ICEMAKER, LIT/OPTIONAL

KSSS36MAX00 15 – ICEMAKER, LIT/OPTIONAL

Products

PositionProduct
Energy Label
Modular Icemaker Service Sheet
Service & Wiring Sheet
Use & Care Guide
Installation Instructions
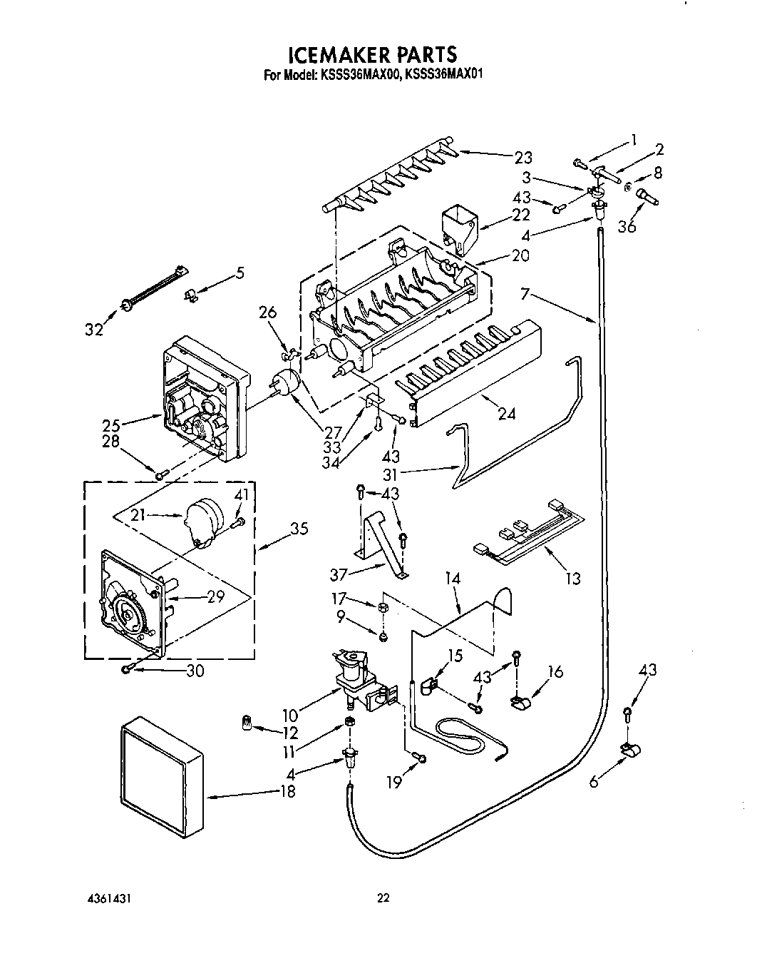
2Fitting, Water Tube
3WP488878 Whirlpool Refrigerator Tube Clamp
44387491 Whirlpool Refrigerator Insert
5WP628379 Whirlpool Refrigerator Clip
6Wire Clip
7Tube, Water (To Ice Maker)
8WP1106508 Whirlpool Refrigerator Gasket
9WP487627 Whirlpool Refrigerator Sleeve
10VALVE-INLT
11WP627018 Whirlpool Refrigerator Nut
12Wire Connector
13Water Valve, Harness
148003RP Whirlpool Refrigerator 25' 1/4" Copper Water Supply Line Kit
15489348 Whirlpool Refrigerator Tube Clamp
16Clamp, Tube (2)
17WP245183 Whirlpool Nut
18Cover
19WP489128 Whirlpool Refrigerator Screw
20WP542638 Whirlpool Refrigerator Grease
20WPW10190929 Whirlpool Refrigerator Ice Maker Mold
21W10190935 Whirlpool Refrigerator Icemaker Motor Module Assembly
22WP628356 Whirlpool Refrigerator Fill Cup
23WP627843 Whirlpool Refrigerator Ejector Arm
24WP2182124 Whirlpool Refrigerator Stripper Arm
25WP2195914 Whirlpool Refrigerator Ice Maker Housing
26WP2315522 Whirlpool Refrigerator Clip
27WP627985 Whirlpool Icemaker Cycling Thermostat
27CEMENT, ALUMILASTIC (1 1/4 OZ.)
288533917 Whirlpool Refrigerator Screw
30WP681249 Whirlpool Screw Assembly
31WP627792 Whirlpool Refrigerator Shut Off Arm
32Harness, Wiring
33WP2256087 Whirlpool Refrigerator Bracket
34Screw, 8-32 x 27/64
36Water Inlet Tube
37Water Valve Mounting Bracket
41489136 Whirlpool Refrigerator Screw
43W11624204 Whirlpool Screw
100FRONT PANEL KIT (STAINLESS STEEL)
100Front Panel Kit (White)
100Front Panel Kit (Black)
1004317943 Whirlpool Refrigerator Ice Maker Assembly
100Black Acrylic Static Cleaner
100Front Panel Kit (Almond)