KSSS36MWX00 14 – ICEMAKER, LIT/OPTIONAL

KSSS36MWX00 14 – ICEMAKER, LIT/OPTIONAL

Products

PositionProduct
Energy Label
Service & Wiring Sheet
WPL LIT1113719
WPL LIT628107
Parts List Rev. A
Installation Instructions
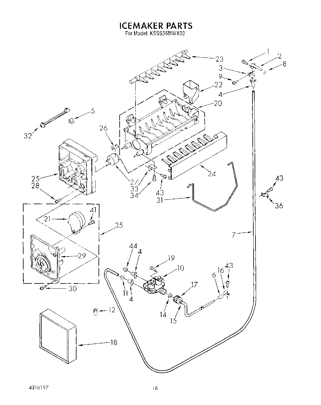
2WP2196157 Whirlpool Fill Tube
3WP488878 Whirlpool Refrigerator Tube Clamp
44387491 Whirlpool Refrigerator Insert
5WP628379 Whirlpool Refrigerator Clip
6WP2158826 Whirlpool Refrigerator Dampener
7W10823511 Whirlpool Refrigerator Water Tube
8WP1106508 Whirlpool Refrigerator Gasket
9WP489069 Whirlpool Compactor Screw
10Valve, Solenoid
11WP627018 Whirlpool Refrigerator Nut
12Wire Connector
14WP16123 Whirlpool Washer
15Tube, Inlet Valve
16Clamp, Tube (2)
17Nut, Valve
18Cover
19WP489128 Whirlpool Refrigerator Screw
20WPW10190929 Whirlpool Refrigerator Ice Maker Mold
20WP542638 Whirlpool Refrigerator Grease
21W10190935 Whirlpool Refrigerator Icemaker Motor Module Assembly
22WP628356 Whirlpool Refrigerator Fill Cup
23WP627843 Whirlpool Refrigerator Ejector Arm
24WP2182124 Whirlpool Refrigerator Stripper Arm
25WP2195914 Whirlpool Refrigerator Ice Maker Housing
26WP2315522 Whirlpool Refrigerator Clip
27WP627985 Whirlpool Icemaker Cycling Thermostat
27CEMENT, ALUMILASTIC (1 1/4 OZ.)
288533917 Whirlpool Refrigerator Screw
30WP681249 Whirlpool Screw Assembly
31WP627792 Whirlpool Refrigerator Shut Off Arm
32Harness, Wiring
33WP2256087 Whirlpool Refrigerator Bracket
34Screw, 8-32 x 27/64
36Tube Clamp (4)
41489136 Whirlpool Refrigerator Screw
43W11624204 Whirlpool Screw
44Compression Nut
1004317943 Whirlpool Refrigerator Ice Maker Assembly
100Top Grille Trim Kit (8``)
100Top Grille Trim Kit (7-1/2``)
100FRONT PANEL KIT (STAINLESS STEEL)
100Front Panel Kit (Almond)
100Front Panel Kit (White)
100Black Acrylic Static Cleaner
100Front Panel Kit (Black)