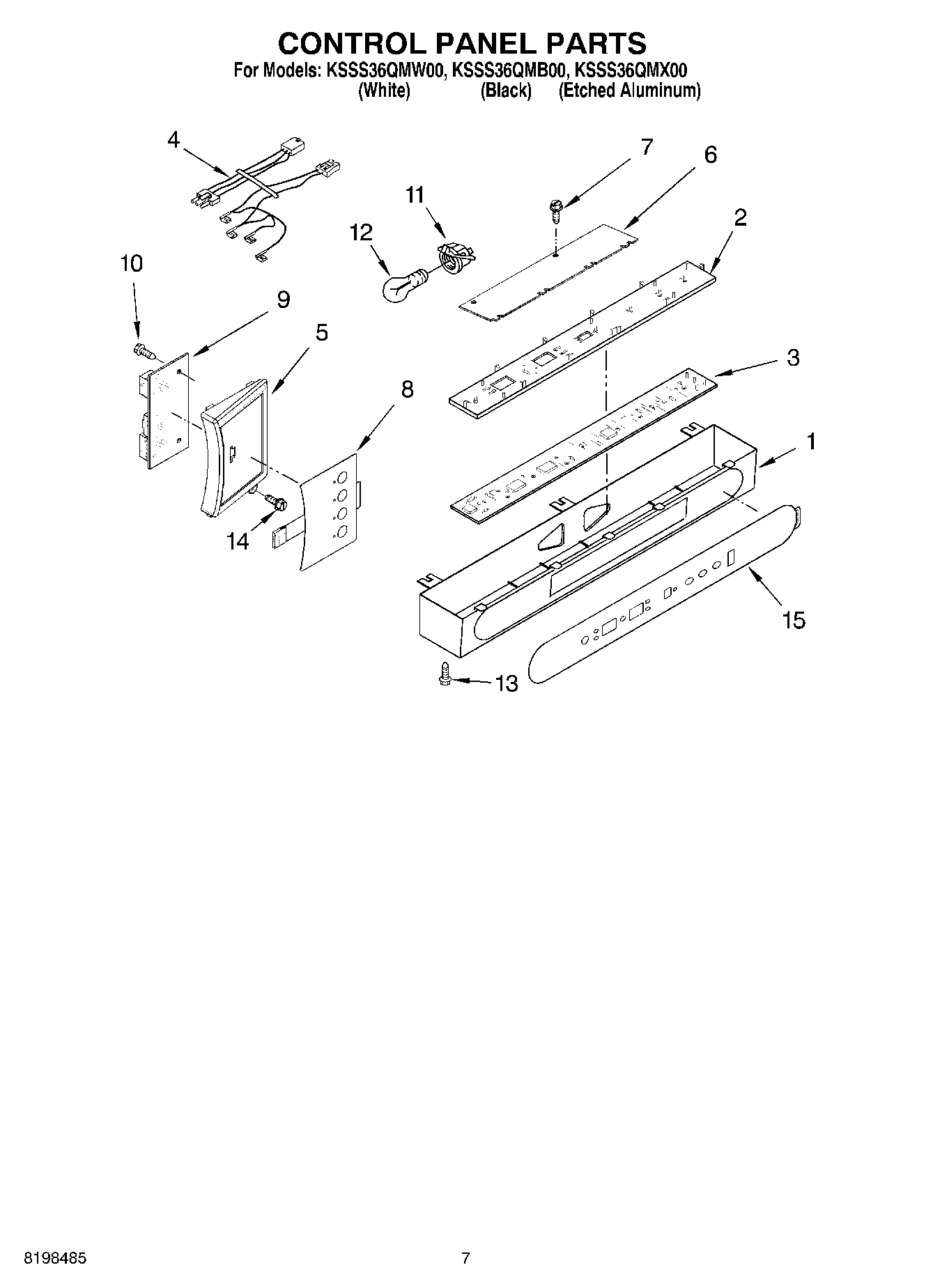
KSSS36QMX00 05 – CONTROL PANEL PARTS