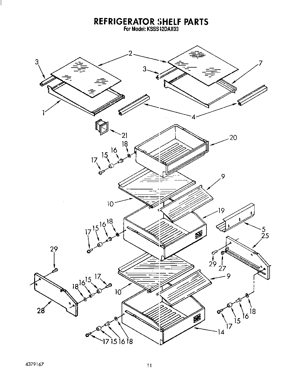
KSSS42DAX03 09 – REFRIGERATOR SHELF