KSSS42DWW00 14 – UPPER UNIT, LIT/OPTIONALadmin2025-04-26T12:09:37+00:00KSSS42DWW00 14 – UPPER UNIT, LIT/OPTIONAL
Products
| Position | Product |
|---|
| WPL LIT1113589 |
| WPL LIT2000492 |
| WPL LIT628107 |
| WPL LIT1113586 |
| WPL LIT4361007 |
| WPL LIT2000144 |
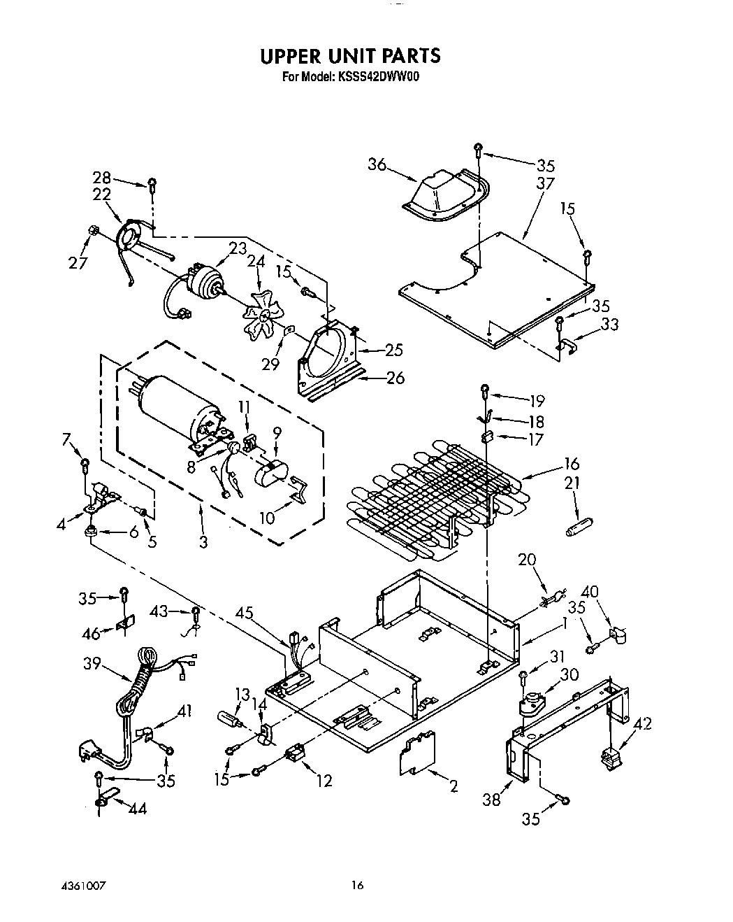
| 1 | Assembly, Unit Base |
| 2 | Assembly, Sound Barrier |
| 3 | Compressor (Includes Items 8, 9, 10 & 11) (Also Order 876765 Tube Kit) |
| 4 | Bracket, Mounting |
| 5 | Grommet, Compressor Bracket |
| 6 | Grommet, Compressor (4) |
| 7 | Screw (4) |
| 8 | Overload |
| 9 | Terminal Cover |
| 10 | Strap, Cover |
| 11 | Relay, (For Service Compressor Only) |
| 12 | WPW10662129 Whirlpool Refrigerator Run Capacitor |
| 13 | Capacitor, Start |
| 14 | Tube Clamp |
| 15 | WP965173 Whirlpool Dishwasher Screw |
| 16 | Condenser |
| 17 | Grommet (4) |
| 18 | Clamp (4) |
| 19 | Screw |
| 20 | Wire Tie (2) |
| 21 | Drier |
| 22 | Mounting Bracket, Motor |
| 23 | Motor, Fan |
| 24 | Blade, Fan |
| 25 | Clamp, Tube (2) () |
| 25 | Orifice, Fan |
| 26 | Gasket, Orifice |
| 27 | WP488130 Whirlpool Air Conditioner Nut |
| 28 | Screw, 8 x 1/2 (3) |
| 29 | WP486692 Whirlpool Refrigerator Nut |
| 30 | Defrost Timer, (10 Hr.) |
| 31 | WP3388228 Whirlpool Screw |
| 33 | Clamp, Tube (2) |
| 35 | W11624204 Whirlpool Screw |
| 36 | Cover, Fan |
| 37 | Cover, Condenser |
| 38 | Extension, Housing |
| 39 | Cord, Service |
| 40 | 489348 Whirlpool Refrigerator Tube Clamp |
| 40 | Clamp, Tube (2) () |
| 41 | Clamp, Cord (2) |
| 42 | WP2266802 Whirlpool Refrigerator Switch |
| 43 | 303776 Whirlpool Dishwasher Screw |
| 44 | Clip, Cord Plug |
| 45 | Wiring Harness, Unit Compartment |
| 46 | VALVE, ACCESS (5/8``) |
| 46 | Top Grille Trim Kit (7-1/2``) |
| 46 | 876764 Whirlpool Refrigerator Primary Valve |
| 46 | 978026 Whirlpool Refrigerator Primary Valve |
| 46 | 978027 Whirlpool Refrigerator Primary Valve |
| 46 | 978030 Whirlpool Refrigerator Valve |
| 46 | Front Panel Kit (Almond) |
| 46 | Front Panel Kit (Black) |
| 46 | WP978025 Whirlpool Refrigerator Valve |
| 46 | VALVE, ACCESS (1/2``) |
| 46 | Front Panel Kit (White) |
| 46 | Stop |
| 46 | Black Acrylic Static Cleaner |
| 46 | Top Grille Trim Kit (8``) |