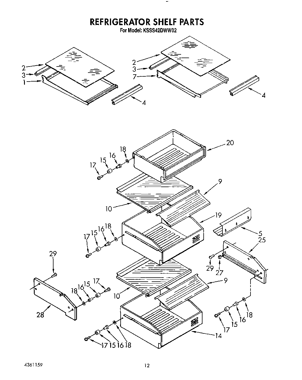
KSSS42DWW02 09 – REFRIGERATOR SHELFadmin2025-04-26T12:11:53+00:00KSSS42DWW02 09 – REFRIGERATOR SHELF ProductsPositionProduct1Frame, Shelf2Glass, Shelf3Reflector, Shelf4Gasket, Glass (2)5Wine & Egg Rack7Frame Assembly9WP1113894 Whirlpool Refrigerator Cover10Glass, Crisper14Pan, Crisper15Roller16Eyelet, Roller17WPW10272364 Whirlpool Refrigerator Screw18Washer19Utility Pan20Meat Pan25Crisper Spacer, Right Side (2)27Roller Stop28Crisper Spacer, Left Side (2)29W11624204 Whirlpool Screw