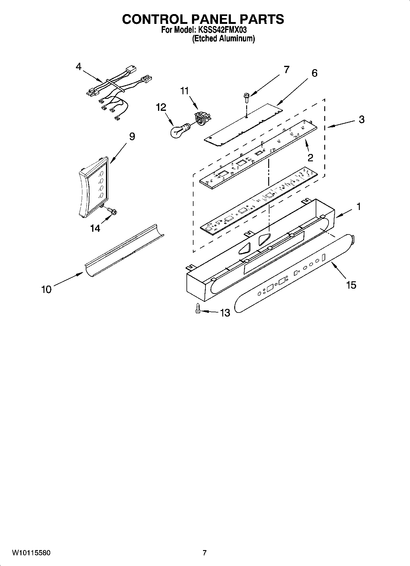
KSSS42FMX03 05 – CONTROL PANEL PARTSadmin2025-04-26T12:10:56+00:00KSSS42FMX03 05 – CONTROL PANEL PARTS ProductsPositionProduct1Control Box2Insert, Control Box3Circuit Board (User Interface)42310197 Whirlpool Wire Harness62221121 Whirlpool Refrigerator Support7WP488920 Whirlpool Refrigerator Screw9WP2306086 Whirlpool Refrigerator Electronic Control Board10Shield, Light114387478 Whirlpool Refrigerator Light Socket12RANGE ONLY 40W 120V APPL BULB13W11624204 Whirlpool Screw14WPW10142283 Whirlpool Refrigerator Screw15OVERLAY