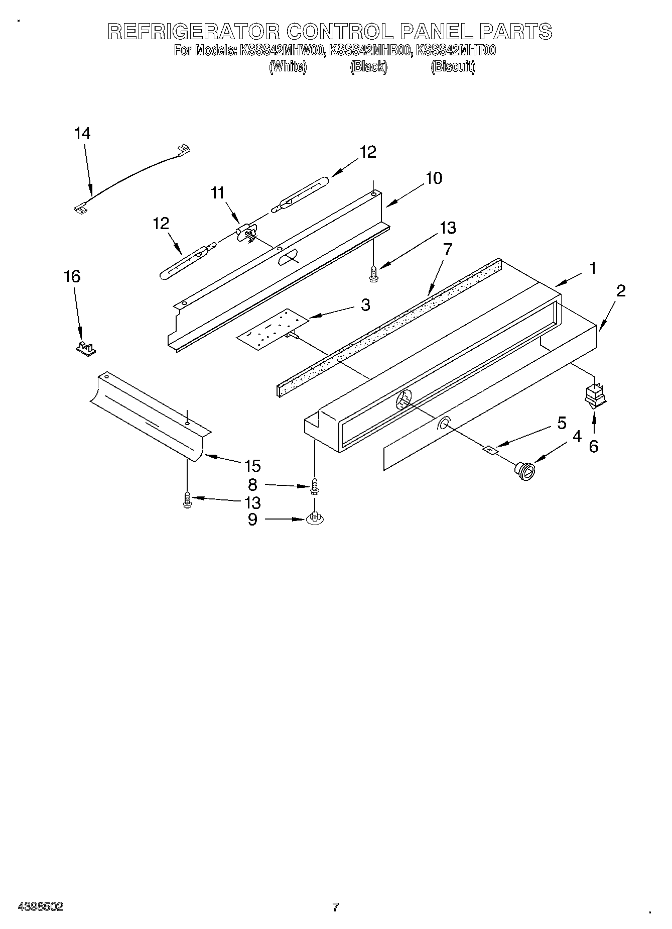
KSSS42MHT00 05 – REFRIGERATOR CONTROL PANEL