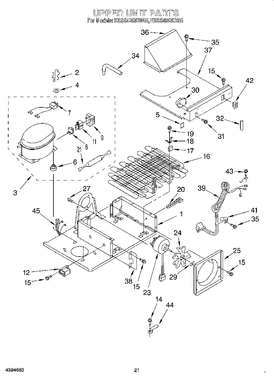
KSSS42QDW05 14 – UPPER UNITadmin2025-04-26T12:09:43+00:00KSSS42QDW05 14 – UPPER UNIT
Products
| Position | Product |
|---|
| 1 | Assembly, Unit Base |
| 2 | Clip, Compressor (4) |
| 3 | W10309994 Whirlpool Refrigerator Compressor |
| 3 | 876765 Whirlpool Primary Mounting Kit Refrigerator |
| 4 | Washer |
| 5 | Bushing, Foam |
| 6 | WP2163786 Whirlpool Refrigerator Grommet |
| 7 | WP2172890 Whirlpool Refrigerator Wire |
| 8 | WP2154697 Whirlpool Refrigerator Overload |
| 9 | WP2162358 Whirlpool Refrigerator Terminal Cover |
| 11 | Relay (See Overload) |
| 12 | Capacitor |
| 14 | Screw |
| 15 | WP965173 Whirlpool Dishwasher Screw |
| 16 | Condenser |
| 17 | Grommet (4) |
| 18 | Clamp (4) |
| 19 | Screw |
| 20 | Strap |
| 21 | WPW10143759 Whirlpool Dryer Filter |
| 23 | Motor, Fan |
| 24 | Fan, Blade |
| 25 | Orifice, Fan |
| 27 | 681390 Whirlpool Refrigerator Screw |
| 29 | WP486692 Whirlpool Refrigerator Nut |
| 30 | WP2183400 Whirlpool Defrost Timer |
| 31 | WP3388228 Whirlpool Screw |
| 32 | Sleeve, Condenser |
| 34 | Process, Tube |
| 35 | W11624204 Whirlpool Screw |
| 36 | Cover, Fan |
| 37 | Cover, Condenser |
| 38 | Air Vane |
| 39 | Service Cord |
| 41 | Clamp, Cord (2) |
| 42 | WP2266802 Whirlpool Refrigerator Switch |
| 43 | 303776 Whirlpool Dishwasher Screw |
| 44 | Clip, Cord Plug |
| 45 | WP978025 Whirlpool Refrigerator Valve |
| 45 | Wiring Harness, Unit Compartment |
| 45 | 978030 Whirlpool Refrigerator Valve |
| 45 | 978026 Whirlpool Refrigerator Primary Valve |
| 45 | 978027 Whirlpool Refrigerator Primary Valve |
| 45 | 876764 Whirlpool Refrigerator Primary Valve |
| 45 | VALVE, ACCESS (5/8``) |
| 45 | VALVE, ACCESS (1/2``) |