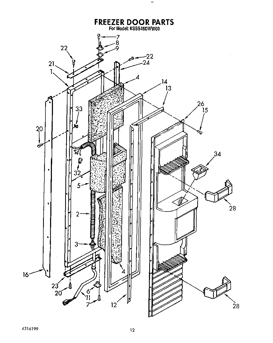
KSSS48DWW00 11 – FREEZER DOORadmin2025-04-26T12:12:38+00:00KSSS48DWW00 11 – FREEZER DOOR
Products
| Position | Product |
|---|
| 1 | Exterior Door Panel, Freezer (Also Order Item 4) |
| 2 | Tube, Wiring |
| 3 | Retainer, Tube |
| 4 | WPL 876029 |
| 5 | Insulation, Dispenser |
| 6 | Hinge, Bottom |
| 7 | W11474472 Whirlpool Screw |
| 8 | Hinge, Top |
| 9 | Spacer |
| 11 | Wiring Harness, Freezer Door |
| 12 | Gasket Retainer, Side (2) |
| 13 | Gasket Retainer, Top & Bottom |
| 14 | Door Gasket, Magnetic |
| 15 | WP489069 Whirlpool Compactor Screw |
| 16 | Handle, Door |
| 20 | WP488729 Whirlpool Refrigerator Door Screw |
| 21 | Trim (Top) |
| 22 | Screw, 6-32 x 1/2 |
| 23 | Trim (Bottom) |
| 24 | Trim (Side) |
| 26 | Panel, Interior Door |
| 28 | Door Shelf, Assembly |
| 32 | Wire Connector |
| 33 | WP939101 Whirlpool Refrigerator Plate |
| 34 | Ice Chute |