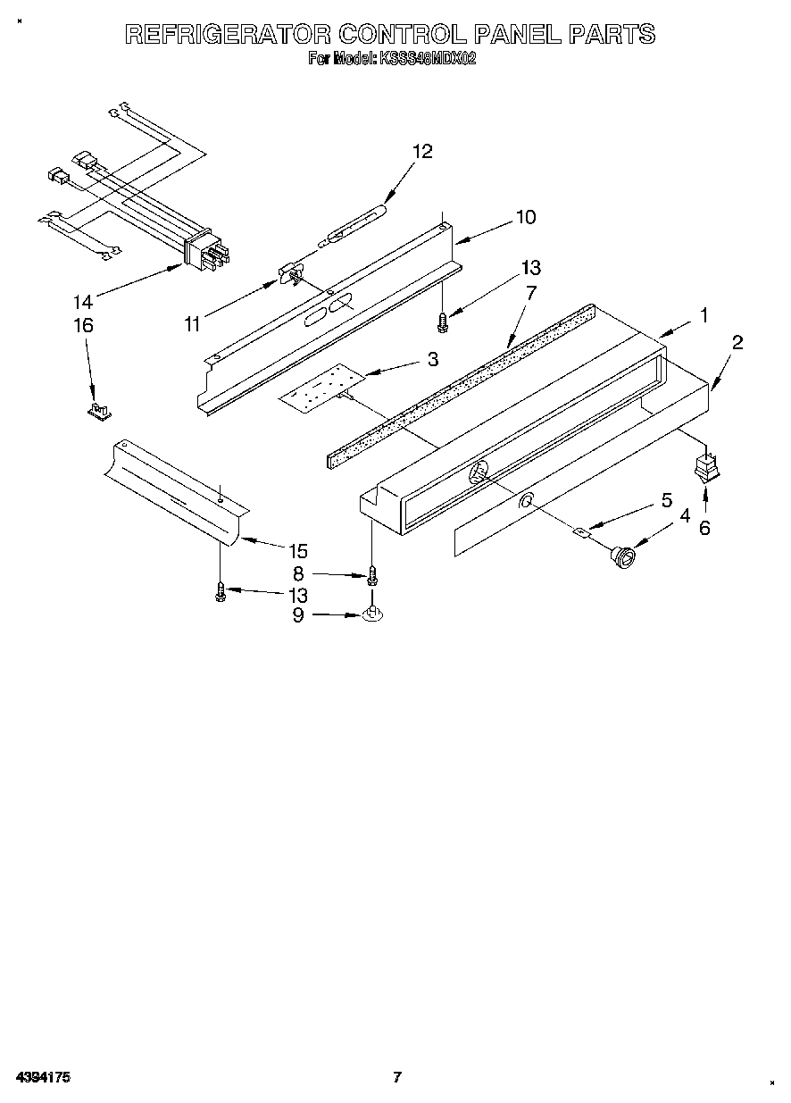
KSSS48MDX02 05 – REFRIGERATOR CONTROL PANEL