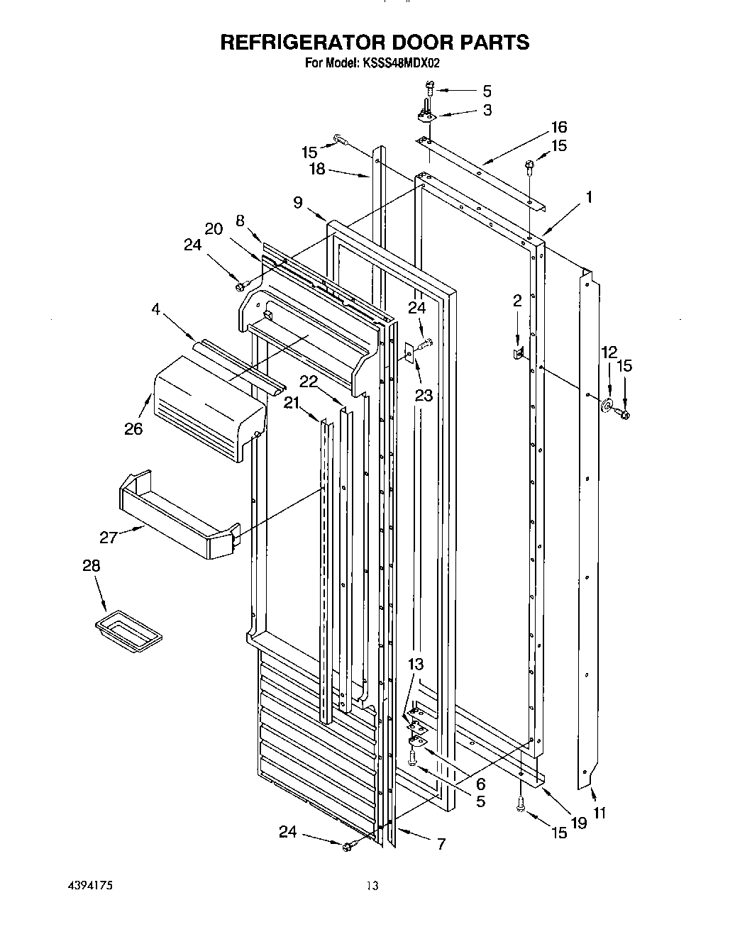
KSSS48MDX02 10 – REFRIGERATOR DOOR