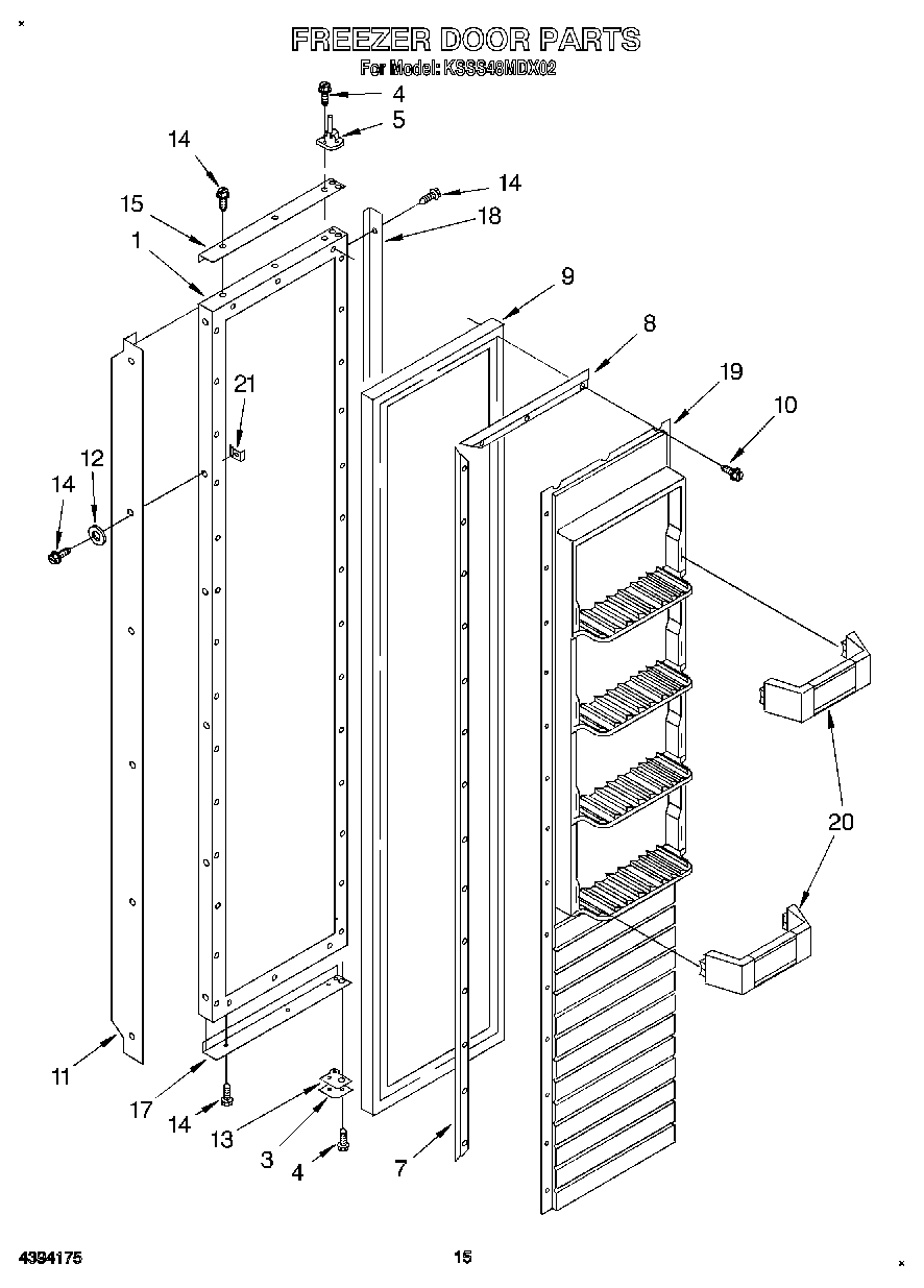
KSSS48MDX02 11 – FREEZER DOORadmin2025-04-26T12:12:24+00:00KSSS48MDX02 11 – FREEZER DOOR ProductsPositionProduct1Freezer Door Panel (Includes Insulation)3Hinge, Bottom4W11474472 Whirlpool Screw5Hinge, Top7Gasket Retainer, Side (2)8Gasket Retainer, Top & Bottom92188319A Whirlpool Refrigerator Door Gasket10W11624204 Whirlpool Screw11Handle, Door12Washer13Door, Spacer Bottom14WP488729 Whirlpool Refrigerator Door Screw15Trim (Top)17Trim (Bottom)18Trim (Side)19Panel, Interior Door20Shelf Bin (4)21WP939101 Whirlpool Refrigerator Plate