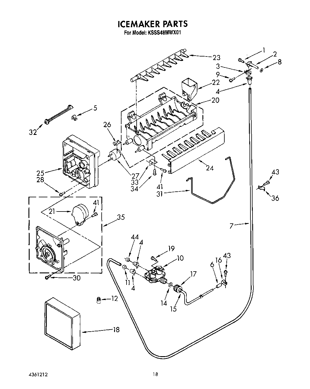
KSSS48MWX01 15 – ICEMAKER