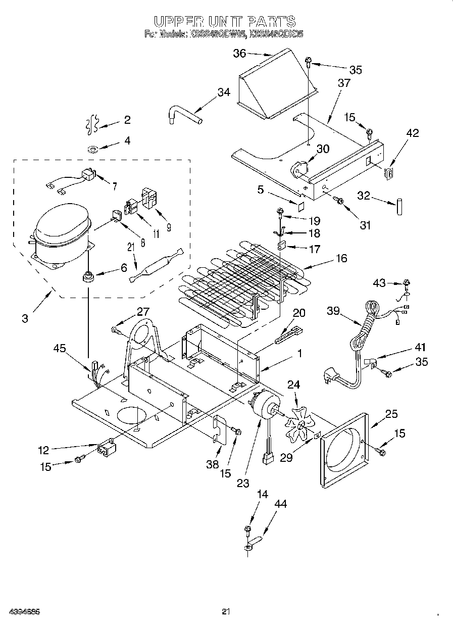
KSSS48QDX05 14 – UPPER UNIT