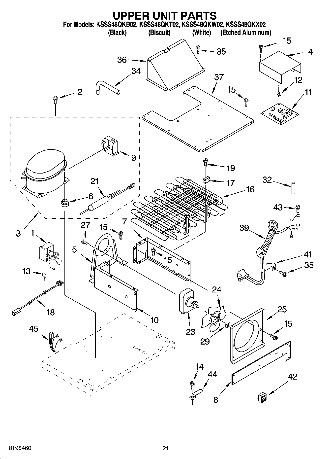
KSSS48QKB02 13 – UPPER UNIT PARTS