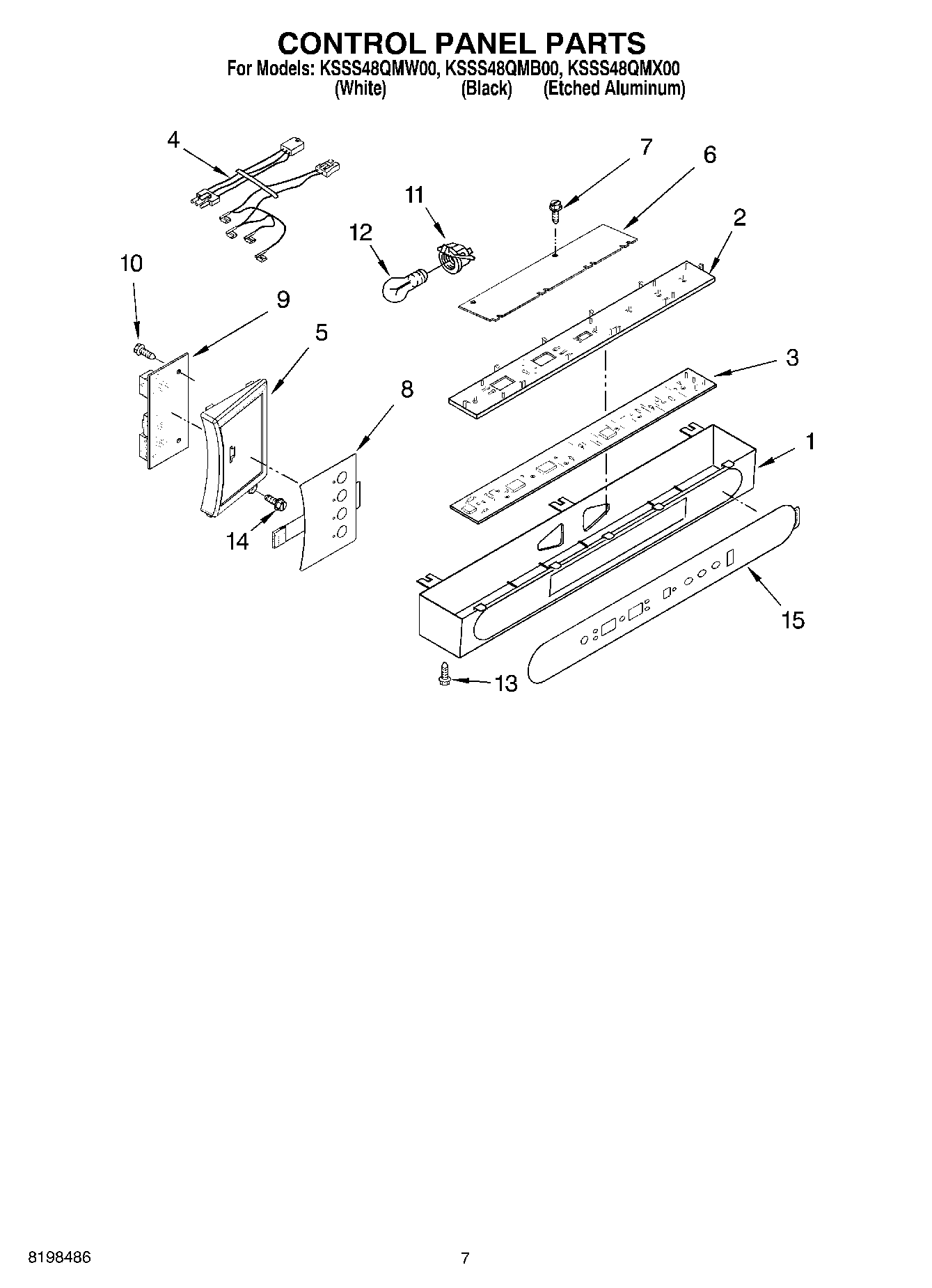
KSSS48QMX00 05 – CONTROL PANEL PARTS