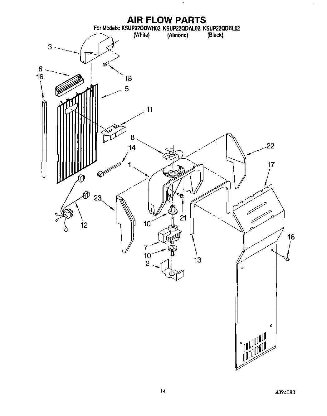
KSUP22QDAL02 09 – AIR FLOW